Тема.подвеска ТЭД. Опорно-осевое подвешивание тяговых электродвигателей.
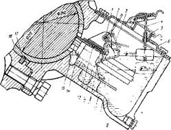
На грузовых и маневровых тепловозах применяется подвешивание (рис.35), при котором двигатель 1 одним концом через моторно-осевые подшипники 9 опирается на ось колесной пары 4, а другим через пружинный комплект (рис. 36) — на раму тележки. Передача тягового момента колесной паре осуществляется зубчатым редуктором, состоящим из зубчатого колеса 2, напрессованного на оси колесной пары, ведущей шестерни 3 на консоли вала двигателя и кожуха редуктора 8, прикрепленного болтами к корпусу двигателя.
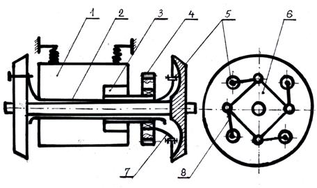
Моторно-осевые подшипники (рис.37.) представляют собой разъемные подшипники скольжения, состоящие из двух бронзовых вкладышей 16 и охватывающие по всему периметру шейки оси колесной пары. Верхние вкладыши укладывают с небольшим натягом в расточку (постель) горловины тягового двигателя, а нижние в крышки (шапки) 8 моторно-осевых подшипников и стягивают болтами. Момент затяжки болтов 1270-1450 Нм. От возможного поворота вкладыш удерживается шпонкой 17. Крышка подшипника служит также и масляной ванной, в которую заливают осевое масло марки Л, 3 или С в зависимости от времени года и местности эксплуатации тепловоза. Уровень масла контролируют маслоуказателем с поплавком 4.
Для смазывания шейки оси в ванне укреплено польстерное устройство, состоящее из корпуса 12, польстерного пакета 15, заключенного в коробку и перемещающегося в направляющих корпуса. Польстерный пакет может быть собран из ламповых фитилей или лучше из трех пластин тонкошерстного каркасного войлока размером 13Х X 157×190 мм. Каждая пластина состоит из пяти слоев войлока, между которыми проложена каркасная ткань-пряжа из 50 % шерсти и 50 % штапельно-вискозного полотна.
Фитильный пакет состоит из двух войлочных прокладок и 12 хлопчатобумажных фитилей шириной 160 и длиной 200 мм. Общая толщина пакета 38—39 мм. Выступание фитилей относительно войлока должно быть не более 2 мм, утопление не допускается. Выступание фитиля относительно переднего края коробки (16±1) мм. Коробка с польстерным пакетом прижимается к шейке оси через окно в нижнем вкладыше с помощью рычага 10 и двух витых пружин 9, размещенных на стержне 1 и оси 2. Усилие поджатия коробки с фитилем к оси 40—60 Н.
Рис.35. Колссно-моторный блок с опорно-осевым подвешиванием тяговых электродвигателей:
1-тяговый двигатель; 2 — упругое зубчатое колесо: 3 — шестерня; 4 — колесная пара; а — букса; в поводок буксы; 7 — пружииы; 8 —кожух редуктора: 9 — моторно-осевые подшипники.
Для обеспечения перемещения коробки без заедания она в направляющих корпусах подпружинена четырьмя пластинчатыми пружинами — по две снизу и две сверху. Пластинчатые пружины задним концом прикреплены к кожуху, а передние скользят в пазах коробки польстера. Рычаг 10 и пружины 9 закреплены на корпусе осью 2 и стержнем 1. Для удержания рычага 10 в поднятом положении во время вынимания польстерного пакета на стержень 1 установлен пружинный фиксатор 3, свободный конец которого не дает возможности установить крышку 6 масляной ванны подшипника, если польстер не установлен на место и рычаг 10 не опущен в рабочее положение.
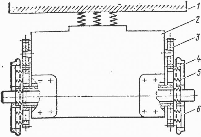
Рис. 36. Пружинная подвеска двигателя: Рис. 37. Рис.38.
1- кронштейн рамы тележки; 2, 5 — нижняя и верхняя обоймы; 3 — пружина: 4 — стягивающие болты; 6 — стержень; 7 валик.
Рис. 37. Моторно-осевой подшипник с польстерной системой смазки:
1— стержень; 2 — ось;.4 фиксатор: 4 поплавок:.5 — втулка: 6 крышка; 7 — пробка для слива конденсата; 5 — крышка подшипника; 9 -пружина; 10 — рычаг; 11 — пружина пластинчатая; 12 — корпус: 13 — скоба; 14 — коробка; 15— пакет польстерный; 16 — вкладыш; 17- шпонка
Рис.38. Схема опорно-осевой подвески тягового электродвигателя:
1 — пружинный комплект на раме тележки; 2 — зубчатое колесо якоря ТЭД; 3 — вал якоря ТЭД; 4 — резинометаллические втулки зубчатого колеса; 5 — ступица зубчатого колеса; 6 — колесо колесной пары; 7 — зубчатый венец; 8 — кожух тягового редуктора; 9 — моторно-осевые подшипники; 10— ось колесной пары; 11 — ТЭД
Моторно-осевые подшипники двигателей ЭД-118А имеют увеличенную по сравнению с подшипниками двигателя ЭД-107А длину вкладышей, равную 290мм при длине рабочей части 262мм. Расточка вкладышей выполнена в виде гиперболы. Разность диаметров по краям рабочей части расточки и в середине подшипника составляет 1 мм. Вкладыш изготовлен из оловянистой бронзы ОЦС-4-4-17. Проводились опыты применения на грузовых тепловозах вкладышей с заливкой баббитом Б83. Результаты оказались удовлетворительными.
У двигателей ЭД-107А подшипники смазываются польстерным устройством. Его конструкция несколько отличается от конструкции польстера двигателя ЭД-118А (меньшего объема смазочная камера, ширина смазочного окна в подшипнике 120мм против 160мм, соответственно ширина польстера 115мм, направление польстера осуществляется роликами). Расточка подшипников цилиндрическая с шириной рабочей поверхности 140мм, по концам вкладышей расточка выполнена большего диаметра для так называемых холодильников масла. В эксплуатации эти подшипники имеют низкую надежность, обусловленную главным образом плохой работой польстерного устройства.
Значительное число тепловозов 2ТЭ116 оборудовано принудительной системой подачи смазки к моторно-осевым подшипникам Рис26. Масло подается масляным насосом 7, установленным в единой крышке 3 моторно-осевых подшипников и приводимым в действие от зубчатого венца 8 оси колесной пары. Масло шестеренным насосом из нижней камеры крышки подводится к польстерному устройству 1 в верхних камерах 2, представляющему собой фитильную подушку из шерстяной пряжи, заключенную в коробку и поджатую винтовой пружиной, или пакет хлопчатобумажных фитилей, вы полненный по типу польстера тягового двигателя ЭД-118А. Такая система смазки наиболее надежна. Насос обеспечивает обильную подачу масла по достижении скорости движения тепловоза 30км/ч.
Пружинная подвеска двигателя состоит из двух балочек (обойм) 2, 5 (см. рис.36), между которыми установлены четыре витых пружины 3. Перед установкой на место пружинный комплекс стягивают болтами 4, пропущенными в отверстия на концах обойм. Комплект установлен между опорными кронштейнами 1 рамы тележки. Для фиксации его в раме тележки через сквозные отверстия в кронштейнах рамы и обоймах пропущены стержни 6, опирающиеся на валики 7, установленные в нижних кронштейнах рамы тележки. От выпадания валики предохранены штифтами. Кронштейны двигателя, охватывающие пружинную подвеску сверху и снизу, имеют сменные приварные пластины из стали 60Г. Пластины из такой же стали приварены к верхней и нижней балочкам.
Опорно-осевое подвешивание ТЭД (рис.38.) используется на большинстве маневровых и грузовых тепловозов. ТЭД в одной точке закрепляется через пружинный комплект на раме тележки, а в двух других точках опирается на ось колесной пары через моторно-осевые подшипники. Вращающий момент от вала ТЭД через пару цилиндрических зубчатых колес передается на ось колесной пары. Зубчатые колеса привода закрыты кожухом тягового редуктора. Они подвергаются значительным динамическим нагрузкам. Для снижения ударных нагрузок, большое зубчатое колесо на многих тепловозах делается составным. Зубчатый венец со ступицей соединяется с помощью комплекта резинометаллических втулок. Упругая связь почти в 5 раз уменьшает динамические нагрузки на ТЭД и снижает износ зубьев.
Колесная пара при опорно-осевом подвешивании ТЭД имеет на оси подступичную часть, на которую напрессовывается зубчатое колесо, а шейки служат опорами моторно-осевых подшипников. При циркуляционной системе смазки моторно-осевых подшипников в средней части оси устанавливается разъемная шестерня привода масляного насоса.
14тема. Опорно-рамное подвешивание тяговых электродвигателей.
Несмотря на свою сложность этот тип подвешивания обладает значительными преимуществами перед опорно-осевым подвешиванием. Тяговый двигатель, закрепленный в раме тележки, оказывается полностью подрессоренным и поэтому на него в меньшей степени передаются толчки и вибрации от пути. При таком способе подвешивания неподрессоренная масса уменьшается почти в два раза, и значит колесно-моторный блок оказывает меньшее воздействие на путь.
На отечественных тепловозах получили распространение в основном две системы опорно-рамного привода: с двусторонней передачей момента на колесную пару полым валом, центрированным в подшипниках скольжения двигателя, и односторонней с помощью карданного вала, связанного с зубчатым колесом упругими муфтами. Первая система применена на тепловозе ТЭП60 и семи первых тепловозах ТЭП70, вторая на — тепловозах ТЭП70 последних выпусков и ТЭП75.
При первой системе подвешивания тяговый двигатель жестко и через резиновые прокладки закреплен в раме тележки в трех точках: одна спереди и две сзади. Передняя часть двигателя
(со стороны горловины моторных подшипников) закреплена в раме тележки с помощью стального литого кронштейна 2 (рис.39.), присоединенного к двигателю, а задняя — с помощью двух литых лап остова двигателя.
Элементами крепления двигателя к кронштейнам рамы тележки являются опорные проставки 6, коническая заточка которых центрируется в конической расточке кронштейнов двигателя, регулировочные прокладки 7, центрирующая обойма 8 и резиновый амортизатор 9, вкладываемые в чаши опорных кронштейнов рамы. Элементы крепления стягивают болтами 12, под головки которых устанавливают резиновые амортизаторы 10. Резиновые амортизаторы служат для гашения высокочастотных вибраций в узлах крепления, снижают напряжения в болтах, уменьшают способность их к ослаблению (на тепловозах ТЭП60 амортизаторы отсутствуют).
Установка двигателя в раме тележки должна обеспечить соосное с осью колесной пары расположение полого вала привода, центрированного в моторных подшипниках привода двигателя. Соосность проверяется по кольцевым зазорам между цапфами приводных фланцев полого вала и стенками отверстий в колесных центрах, где расположены цапфы с ведущими пальцами эластичного привода. Номинальный размер зазора, измеренный по вертикальному и горизонтальному диаметрам, (40±2) мм.
Передача тягового момента от двигателя к колесной паре осуществляется полым валом, на концах которого закреплены фланцы 21 с цапфами. На диске одного из приводных фланцев закреплен призонными болтами зубчатый венец 4, приводимый во вращение шестерней двигателя. На выступающее из отверстий в колесных центрах два ведущих пальца 22 привода, запрессованных в его цапфы, и два ведомых пальца, укрепленных в колесных центрах, надеты с каждой стороны шарнирно-рычажные эластичные муфты, которыми колесная пара приводится во вращение.
К проушинам промежуточного литого звена (траверсы) эластичной муфты на валиках укреплены четыре поводка. В отверстия поводков запрессованы по два резинометаллических шарнира 23, представляющих собой две металлические втулки, в кольцевое пространство между которыми запрессована с большим радиальным поджатием резиновая втулка. Внутренняя металлическая втулка имеет шпоночный паз со шпонкой, которой она удерживается от поворота на валиках промежуточного звена и пальцев.
Резиновые амортизаторы обеспечивают передачу вращающего момента от полого вала колесной паре, а также позволяют компенсировать взаимные вертикальные перемещения двигателя (вместе с полым валом и рамой тележки) относительно колесной пары при игре рессорного подвешивания. При этом резиновые втулки работают на скручивание (коаксиальный сдвиг). Полый вал вместе с приводными фланцами вращается в подшипниках скольжения — моторных подшипниках, установленных в остове тягового электродвигателя. Моторные подшипники стальные с баббитовой заливкой.
Подшипники (рис.40.а) смазываются с помощью фитилей из грубой чистошерстяной пряжи, вставленных в войлочную обойму 2, которая смонтирована в металлической оправе 3. Пряжа фитиля должна выступать из войлочной обоймы на 5—8 мм. Обойма поджимается пружиной 1. Концы фитилей (40 шт.) диаметром 15—18 мм равномерно распределены по верхним смазочным камерам а, куда во время движения интенсивно подается смазка из нижней камеры б шестеренным насосом 9, приводимым в движение зубчатым венцом 7, укрепленным на средней части полого вала 5. Путь масла, подаваемого насосом из нижней камеры б в верхнюю а, показан стрелками. Уровень масла в обеих камерах замеряют щупом.
При системе с полым карданным валом на тепловозе ТЭП70 последних выпусков двигатель также закреплен в раме тележки в трех точках (рис.41.). Передней частью он подвешен к кронштейнам рамы тележки 1 с помощью подвесок 2, верхние концы которых закреплены гайками к полкам кронштейнов, а нижние связаны валиками с кронштейнами 3 опор 16, имеющими общую с опорами отливку, прифланцованную к двигателям. Кронштейны крайних и среднего двигателей тележки отличаются друг от друга формой и длиной. Задняя часть двигателя имеет специальные, отлитые заодно с корпусом опорные приливы 8, которыми двигатели опираются на валики 9 с клиновыми скосами, укрепленные в цилиндрических расточках кронштейнов 10 рамы тележки. Для создания натяга между валиками и приливами двигателя в клиновом пазу предусмотрен зазор, который после стягивания болтами должен быть не менее 3мм.
Рис.39.Подвешивание ТЭД на раме тележки. Рис.40.
Рис.40. Смазочные устройства моторных подшипников: смазочные камеры (а); шестеренный привод насоса(б).
Положение двигателя в вертикальном направлении регулируется гайками подвески 2, а в продольном направлении- регулировочными пластинами, подкладываемыми под привалочные фланцы кронштейнов 10.
Наружные и внутренние кольца роликовых подшипников 7 зафиксированы от смещения дистанционными кольцами 6 и крышками 1, 2, 9, 10. Крышки подшипников, укрепленные на опоре 12 и в ступице 8, образуют лабиринтные уплотнения, предотвращающие попадание пыли и грязи в полость подшипников, заполненную смазкой. Зубчатый редуктор 4 закрыт кожухом 15 (см. рис. 41), прикрепленным к двигателю четырьмя болтами.
Половинки кожуха по разъему уплотнены резиновым жгутом, а по ступице зубчатого колеса — промасленным войлочным уплотнением. Ступица зубчатого колеса имеет четыре прилива в виде проушин, в которых на валиках укреплены поводки с резинометалли-ческими шарнирами 12 (см. рис. 27). (Поводки по конструкции и размерам одинаковы с поводками привода тепловоза ТЭП60.) Вторые головки поводков соединены с проушинами фланца полого карданного вала 6, на противоположном конце которого укреплен наболтах приводной фланец 4 с четырьмя цапфами.
В отверстия цапф посажены с натягом 0,09—0,12 мм пальцы 3, на которые надеваются головки поводков с резинометаллическими шарнирами. Вторые головки соединены с пальцами 16, укрепленными в приливах колесного центра. От осевого смещения поводки удерживаются ограничительными шайбами и головками болтов, ввернутых в отверстия пальцев с резьбой и зафиксированных стопорными пластинами. Поводки, объединяющие пальцы приводного фланца и колесного центра, образуют шарнирно-рычажную муфту, приводящую в движение колесную пару.
Благодаря карданной системе передачи тягового момента компенсация взаимных вертикальных перемещений двигателя и колесной пары осуществляется за счет угловых колебаний полого вала, что освобождает резинометаллические шарниры от работы на скручивание. Это обстоятельство должно значительно повысить надежность шарниров, так как именно деформация скручивания резиновых втулок (имеющая место при системе с двусторонней передачей момента у тепловозов ТЭП60) приводит к интенсивному износу и повреждению шарниров,
Опорно-рамное подвешивание ТЭД (рис.43) применяется в основном на пассажирских тепловозах. На тепловозе ТЭП70 вращающий момент передается через редуктор, большая шестерня которого вращается в подшипниках на полой опоре. Ступица большой шестерни соединена поводками с фланцем полого карданного вала. На противоположном конце вала укреплен приводной фланец. Пальцы приводного фланца соединяются поводками с пальцами колесных центров. Поводки образуют шарнирно-рычажную муфту с резинометаллическими шарнирами, соединяющую полый вал с колесной парой. При опорно-рамном подвешивании ТЭД опирается на раму тележки, что значительно снижает массу неподрессоренных частей тепловоза и улучшает его динамические характеристики
Рис.41. Колесно-моториый блок тепловоза ТЭП70: Рис. 42.
1 — полка кронштейна рамы для подвески двигателя; 2 — подвескас гайками; 3 — кронштейн двигателя-4 — зубчатый редуктор; 5 -поводок с резииометаллическими шарнирами; 6 приводной фланец ступицы зубчатого колеса; 7 -приводной фланец полого вала: 8 — опорные приливы двигателя- 9 — опорные приливы двигателя; 9 — опорный валик; 10 — кронштейн рамы тележки: 11 — букса- 12 — колесная пара; 13 — зубчатое кольсо: 14 — шестерня; 15 кожух редуктора: 16 – опора подшипников привода.
Рис. 42. Опора подшипников привода: 1, 2, 9, 10 — крышки лабиринтов; 3 — уплотнение: 4 — болт; 5 — зубчатый венец; 6 — дистанционное кольцо; 7 — роликовый подшипник; 8 ступица; 11 — кожух редуктора; 12 -опора
Рис. 43. Схема опорно-рамной подвески тягового электродвигателя:
а — схема опорно-рамного подвешивания тепловоза ТЭП60; б — схема опорно-рамного подвешивания тепловоза ТЭП70; 1, 10, 14 — резиновые амортизаторы в точках крепления ТЭД; 2, 24 — пальцы колесных центров; 3 — траверса; 4 — палец; 5— отверстие в колесном центре; 6 — цапфа; 7— зубчатое колесо полого вала; 8, 18 — тяговые редукторы; 9 — полый вал; 11 — моторный подшипник ТЭД; 12, 22 — приводные фланцы; 13 — ТЭД; 15 — ступица большой шестерни; 16 — поводок фланца полого вала; 17 — большая шестерня; 19 — подшипники; 20 — полая опора; 21 — полый карданный вал; 23 — пальцы вала; 25 — поводки
Понравилась статья? Добавь ее в закладку (CTRL+D) и не забудь поделиться с друзьями:
Взаимодействие пути и состава — Подвешивание тяговых двигателей и передаточных механизмов на тележках и соединение их с движущими осями
В процессах взаимодействия пути и подвижного состава участвуют массы колесных пар, тележек, кузова и других элементов механической части экипажа, соединенные между собой упругими или жесткими связями.
Существенное влияние на эти процессы оказывают также масса и момент инерции привода (тяговых двигателей и передаточных механизмов, соединенных с тележкой или с колесной парой жесткими или упругими связями). Поэтому при исследованиях процессов взаимодействия пути и подвижного состава необходимо учитывать конструктивные особенности привода.
Различают два основных типа подвешивания тягового привода: опорно-осевое и опорно-рамное. Опорно-осевое подвешивание (так называемая трамвайная подвеска) получило широкое распространение на всех грузовых локомотивах и локомотивах, имеющих сравнительно небольшую скорость движения (рис. 19). Опорно-рамное подвешивание, как правило, применяется на высокоскоростном подвижном составе.
Рис. 19. Схема опорно-осевого подвешивания тягового двигателя:
- — тяговый двигатель; 2 — ведомая шестерня редуктора; 3 — ведущая шестерня редуктора; 4 — упругая подвеска двигателя на раме тележки
При опорно-осевом подвешивании тяговый двигатель одной стороной жестко опирается на ось колесной пары через моторноосевые подшипники, а другой на упругих элементах подвешивается к поперечной балке рамы тележки. Таким образом, двигатель опирается двумя точками на ось колесной пары и одной точкой подвешивается на поперечной балке рамы тележки. Вращающий момент от вала двигателя передается на колесную пару через редуктор, состоящий из одноступенчатой зубчатой передачи. При этом одна шестерня насажена на вал двигателя, а другая — на ось колесной пары или на удлиненную ступицу колеса.
При различных конструкциях опорно-осевого подвешивания к необрессоренной массе следует относить массу лишь тех элементов, которые имеют жесткие связи (контакт) с рельсами. Массы остальных элементов подвешивания следует считать присоединенными к необрессоренной массе через упругие элементы (с присущей этим элементам жесткостью). Однако при опорноосевом подвешивании весьма значительная доля массы двигателя и редуктора (примерно половина) жестко соединена с осью. За счет этого существенно увеличивается динамическое воздействие на верхнее строение железнодорожного пути, колесные пары, зубчатые передачи, ухудшаются условия электрической коммутации двигателей. В связи с этим сейчас все шире стали применять опорно-рамное подвешивание привода. При опорно-рамном подвешивании двигатель подвешивается на упругих связях на раме тележки и связан упругими элементами или непосредственно с колесной парой, или с промежуточными элементами, передающими вращающий момент колесной паре. За счет деформаций упругих элементов сам двигатель или двигатель совместно с редуктором может упруго перемещаться относительно колесной пары.
В практике локомотивостроения сейчас применяют четыре основные принципиально различающиеся схемы опорно-рамного подвешивания двигателя. Первая группа конструкций приводов отличается тем, что тяговый двигатель укреплен на раме тележки, а упругие связи (так называемые подвижные элементы) привода установлены между ведущей шестерней редуктора и колесной парой (рис. 20). В этом случае обрессорены и двигатель и редуктор.
Привод первой группы имеет полый вал, охватывающий ось колесной пары. Между внутренними стенками полого вала и осью колесной пары имеется зазор. На концах полого вала установлены ведомые зубчатые колеса. Между зубчатым колесом и колесной парой установлены подвижные элементы.
Рис. 20. Схема опорно-рамного подвешивания тягового двигателя типа «Альстом»:
1 — полый вал; 2 — тяговый двигатель; 3 — ведущая шестерня; 4 — ведомая шестерня; 5 — подвижные элементы; 6 — диск колесного центра
Рис. 21. Схема опорно-рамного подвешивания тягового двигателя типа «Сешерон»:
1 — рама тележки; 2 — шарнир подвески редуктора; 3 — ведущая шестерня; 4 — тяговый двигатель; 5 — ведомое зубчатое колесо; 6 — подвижные элементы; 7 — кожух редуктора; 8 — торсионный вал
Существует большое количество различных конструкций подвижных элементов. Привод первой группы (типа «Альстом») применен, например, на отечественных тепловозах ТЭП60.
Во второй группе конструкций приводов (рис. 21) редуктор подвешен непосредственно на колесной паре, а двигатель — на раме тележки. Здесь обрессорен полностью только двигатель. Подвижные элементы во второй группе приводов устанавливаются или с двух сторон тягового двигателя и соединяются между собой торсионным валом или размещаются между ведущей шестерней и хвостовиками вала двигателя. Приводы этой группы (типа «Сешерон») применены, например, на электропоездах ЭР1 и на электровозе ЧС1 первых выпусков.
Третья группа конструкций подвешивания привода применяется при двигателях большой мощности и больших габаритных размерах. В этом случае приходится между ведущей и ведомой шестерней насаживать промежуточную шестерню. При этом упругие элементы устанавливаются с одной стороны между колесной парой и диском полого вала, а с другой между диском полого вала и ведомым зубчатым колесом. Такая конструкция характерна для привода типа «Жакмен».
Конструкции четвертой группы приводов близки к конструкции приводов с опорно-осевым подвешиванием (рис. 22). Здесь тяговый двигатель опорно-осевыми подшипниками опирается на полый вал, упруго соединенный с колесами. На валу насажены ведомые шестерни. Последние с помощью подвижных элементов соединены с колесной парой. Приводы такой конструкции (фирмы «Сименс-Шуккерт») применяются на некоторых типах немецких электровозов (Е10, Е40 и др.). Детальное описание конструкций опорно-осевого и опорно-рамного подвешивания привода дано в работе [34].
Кроме опорно-осевого и опорно-рамного подвешивания привода, у тепловозов иногда применяется раздача мощности к осям так называемой гидромеханической передачей.
Рис. 22. Схема опорно-рамного подвешивания тягового двигателя типа «Сименс-Шуккерт»:
1 — рама тележки; 2 — тяговый двигатель; 3 — ведущая шестерня; 4 — ведомое зубчатое колесо; 5 — подвижные элементы; 6 — центр колеса
В таких тепловозах, как правило, используются быстроходные дизели, соединенные карданным валом с гидравлической передачей. Вращающий момент от выходного вала гидравлической передачи в большинстве случаев передается через карданный привод к осевым редукторам колесных пар. В этом случае на каждой оси устанавливаются пары конических шестерен, соединенны с карданным валом с выходным валом гидропередачи. Следовательно, при такого рода конструкциях к массе колесной пары присоединена масса редуктора и половина массы карданного вала.
При анализе процессов взаимодействия пути и подвижного состава, особенно при анализе горизонтальных колебаний колесных пар, необходимо также учитывать конструкцию зубчатых передач редуктора. При косозубых и шевронных зубчатых передачах колесная пара при горизонтальных перемещениях вовлекает в эти перемещения и редуктор и соединенные с ним массы. При прямозубых передачах горизонтальные перемещения колесной пары из-за поперечных скольжений зубчатых колес могут не передаваться редуктору и двигателю.
Лекция №10 Тяговые приводы тепловозов.
Назначение подвешивания. Подвешивание ТЭД обеспечивает передачу статических и динамических нагрузок от него на раму тележки. При его проектировании стремятся снизить необрессоренную массу, передаваемую от ТЭД к раме тележки, которая увеличивает динамические нагрузки в экипажной части и требует снижения скорости движения локомотива.
Классификация подвешивания ТЭД. Подвешивание ТЭД может быть: первого, второго или третьего класса. Подвешивание первого класса называется опорно-осевым. При этом подвешивании 50 % массы ТЭД передается на ось колесной пары жестко, а 50 % – через пружинную подвеску на раму тележки. Недостатком этого типа является повышенное динамическое воздействие на путь. Уменьшение динамического воздействия на путь достигается при подвешивании второго и третьего класса. Подвешивание второго класса называется опороно-рамным, с подрессоренным ТЭД и неподрессоренным тяговым редуктором. Подвешивание третьего класса также называется опорно-рамным, с подрессоренным ТЭД и тяговым редуктором. В этом случае крутящий момент передается при помощи шарнирно-рычажного устройства или упругих муфт, размещенных между валом якоря и шестерней или между зубчатым колесом и колесной парой. Преимущество опорно-рамного подвешивания заключается в том, что ТЭД защищен от вибрации рессорным подвешиванием тележки, а также в значительном снижении неподрессоренного веса локомотива. Недостатком этого привода является его сложность и повышенные расходы на его содержание и ремонт. Привод первого типа применяется на грузовых и маневровых локомотивах, а второго типа – на пассажирских.
При опорно-осевом подвешивании ТЭД одной стороной опирается на ось колесной пары через моторно-осевые подшипники, а другой – на раму тележки через пружины, установленные в траверсе. Ведомая шестерня непосредственно напрессовывается на ось. Моторно-осевые подшипники смазываются через пакет фитилей и дополнительно с помощью шестеренчатого насоса. Такое подвешивание применяется на тепловозах 3ТЭ10М, 2ТЭ116, ТЭМ2 и др. В эксплуатации этот узел часто выходит из строя из-за прекращения подачи смазки. Для повышения надежности подвешивания и снижения затрат на его обслуживание на тепловозе 2ТЭ25А установлены роликовые конические подшипники, которые смазываются консистентной смазкой и дефектируются только на тяжелых ремонтах (рис. 10.1).
Рис. 10.1. Опорно-осевое подвешивание с подшипниками качения: 1 – ось колесной пары;
2 – колесный центр; 3 – тяговый электродвигатель; 4 – роликовый подшипник;
5 – корпус подшипниковый; 6 – зубчатое колесо
При опорно-рамном подвешивании второго класса ТЭД с помощью пружин подвешивается к раме тележки, а ведомая шестерня жестко соединена с осью колесной пары. Для компенсации взаимных перемещений этих узлов якорь соединен с шестерней резино-кордовой муфтой, позволяющей передавать крутящий момент в условиях их взаимного перемещения.
Для обеспечения параллельности осей шестерен редуктора и постоянства расстояний между ними корпус редуктора делается несущим с подшипниками для валов. Кроме того, для восприятия реактивного момента редуктор дополнительно крепится реактивной тягой к раме тележки. Редуктор сварно-литой, с ребрами жесткости, расположенными снаружи. Подвешивание второго класса обладает лучшими динамическими качествами, чем опорно-осевое, но требует усложнения конструкции ТЭД (якорь через прямозубую передачу и торсионный вал передает крутящий момент к резино-кордовой муфте). Такое подвешивание ТЭД применено на тепловозах 2ТЭ121 и 2ТЭ136.
Рис. 10.2. Опорно-рамное подвешивание 2-го класса:
1 – остов ТЭД; 2 – зубчатая муфта; 3 – якорь ТЭД; 4 – торсионный вал;
5 – пружинная подвеска; 6 – резино-кордовая муфта
При опорно-рамном подвешивании третьего класса ТЭД и тяговый редуктор опираются на раму тележки. Для обеспечения такого подвешивания на ось колесной пары устанавливается полый вал, а на него – через подшипники – зубчатое колесо (рис. 15.3). Для передачи крутящего момента с зубчатого колеса на колесную пару устанавливается тяговая муфта. Схема передачи крутящего момента следующая: шестерня – зубчатое колесо – кронштейн зубчатого колеса – тяговая муфта – поводок – резино-металлический шарнир – полый вал – тяговая муфта другого колесного центра.
Рис. 10.3. Опорно-рамное подвешивание 3-го класса: 1 – тяговый электродвигателей;
2 – полый вал; 3 – корпус подшипников; 4 – зубчатое колесо; 5 – резинометаллический шарнир; 6 – тяговая муфта; 7 – кронштейн зубчатого колеса; 8 – поводок
Данное подвешивание ТЭД имеет наилучшие динамические качества, но обладает значительной сложностью, что увеличивает расходы на ремонт. Подвешиванием 3-го класса оборудуются пассажирские локомотивы ТЭП70, ТЭП60, ЭП1.
Расчет нагрузки на ось колесной пары при работе ТЭД
В конструкции тележек тяговый электродвигатель может быть расположен за осью колесной пары и перед ней. На тепловозе 3ТЭ10М на передней тележке ТЭД имеют первое расположение, а на второй – второе. При расположении ТЭД за осью вертикальная составляющая давления на зуб колеса РЗ будет разгружать колесную пару, а при расположении перед осью – нагружать.
Величина дополнительной нагрузки определяется как
Δ Р = РЗ ± ,
где d – расстояние от оси якоря ТЭД до точки приложения реакции опоры; MР – реактивный момент; с – расстояние от оси колесной пары до оси якоря ТЭД; + при расположении ТЭД за осью колесной пары; – при расположении ТЭД перед осью колесной пары.
Разгрузка колесной пары снижает коэффициент сцепления, и следовательно, как силу тяги, что вызывает боксование колесной пары и снижает скорость движения. Для компенсации разгрузки колесной пары на некоторых локомотивах устанавливаются пневматические догружатели (тепловоз ТЭМ7).
Тяговый привод колесных пар тепловоза
Тяговый привод колесных пар предназначен для передачи вращающего момента от тягового электродвигателя или гидравлической передачи (в зависимости от типа передачи) к движущим осям локомотива и является одним из основных узлов тележки тепловоза. Различают индивидуальный и групповой тяговые приводы. В первом случае вращающий момент передается на каждую ось тепловоза автономным (индивидуальным) приводом, во втором — распределяется на две и более колесные пары, механически связанные между собой.
Индивидуальный тяговый привод получил наибольшее распространение в мировом локомотивостроении благодаря простоте и надежности конструкции. В нашей стране практически все магистральные тепловозы с электрическими передачами и электровозы оборудованы индивидуальным тяговым приводом. При этом типе привода каждая колесная пара тепловоза приводится в движение от отдельного тягового электродвигателя. Следовательно, при индивидуальном тяговом приводе число тяговых электродвигателей равно количеству колесных пар тепловоза.
Групповой тяговый привод нашел широкое применение в конструкциях экипажной части тепловозов с гидродинамическими передачами. В этом случае вращающий момент передается и распределяется по колесным парам тепловоза от выходного вала гидропередачи с помощью системы карданных валов и осевых редукторов или так называемого спарникового механизма.
Как уже отмечалось ранее, в ряде стран мира, например, во Франции серийно строились тепловозы с электрической передачей и электровозы с групповым приводом колесных пар. В нашей стране в середине 70-х годов прошлого века на Людиновском тепловозостроительном заводе (ныне ОАО «Людиновотепловоз») также был построен опытный тепловоз ТЭМ12 мощностью 880 кВт (1200 л.с.>, который имел групповой привод колесных пар. На четырехосном тепловозе ТЭМ12 были установлены два тяговых электродвигателя (ТЭД) типа ЭД-121, по одному на каждую тележку. Якори обоих двигателей были соединены между собой и с колесными парами тепловоза посредством карданных валов и осевых редукторов по схеме, похожей на тяговый привод колесных пар тепловоза ТГМ6 с гидравлической передачей.
Тележку с одним электродвигателем принято называть мономоторной, т.е. одномоторной. Она имеет сложную конструкцию и, следовательно, низкую надежность тягового привода, что и объясняет их ограниченное применение в практике тепловозостроения.
Рассмотрим более подробно разновидности конструкций индивидуальных и групповых тяговых приводов колесных пар тепловозов.
ИНДИВИДУАЛЬНЫЙ ТЯГОВЫЙ ПРИВОД
При индивидуальном приводе вращающий момент от тягового двигателя к колесной паре передается с помощью одноступенчатого тягового редуктора, состоящего из цилиндрической зубчатой пары: ведущей шестерни 4 на валу тягового электродвигателя 5 и ведомого зубчатого колеса 2 — на оси колесной пары 3 (рис. 1), т.е. фактически основным звеном индивидуального тягового привода является одноступенчатый тяговый редуктор. Передаточное число i тягового редуктора (отношение чисел зубьев ведомого зубчатого колеса к ведущей шестерни) зависит от назначения тепловоза: у грузовых и маневровых оно больше (обычно i = 4,41 — 75/17), у пассажирских — меньше (например, у тепловоза ТЭП70 i = 3,12 = 78/25).
Рекомендуемые материалы
Рис. 1. Схема опорно-осевого подвешивания тяговых электродвигателей тепловозов:
1 — бандаж колеса; 2 — зубчатое колесо; 3 — ось колесной пары; 4 — ведущая шестерня; 5 — ТЭД; 6 — рама тележки; 7 — пружинный комплект; 8 — МОП
У читателя может возникнуть вопрос, а нельзя ли якорь тягового электродвигателя напрессовать непосредственно на ось колесной пары, а его статор разместить на раме тележки? В этом случае отпадает необходимость в тяговом редукторе, что значительно упростит и удешевит конструкцию ходовой части тепловоза и повысит его надежность. В принципе напрашивается положительный ответ и, кстати, такая конструкция тягового привода колесных пар была реализована на первых трамваях. Однако возникает целый ряд серьезных проблем, решение которых применительно к условиям работы железнодорожного транспорта не представляется возможным.
Во-первых, мощность тягового электродвигателя, которая зависит от его размеров и частоты вращения якоря, будет ограничена допустимой (по условиям безопасности движения) величиной просвета между головкой рельса и нижней частью корпуса двигателя и скоростью движения тепловоза. Во-вторых, во время движения тепловоза узлы тяговых электродвигателей будут испытывать серьезное динамическое воздействие от ударов на стыках рельсов и при прохождении тепловозом неровностей пути, что может быстро привести к их поломке и, соответственно, к порче локомотива в пути следования и срыву перевозочного процесса на железной дороге.
В-третьих, увеличится так называемая неподрессоренная масса колесных пар и возрастет нагрузка от колесной пары на рельсы, что отрицательно скажется на надежности верхнего строения пути. По действующим на сети дорог России стандартам предельная величина нагрузки от колесной пары подвижного состава на рельсы не должна превышать величину 230 кН (23 тс).
По этим и ряду другим причинам тяговые двигатели размещают на тележках тепловоза так, чтобы оси их якорей были параллельны осям колесных пар, а вращающий момент передавался посредством двух зубчатых колес тягового редуктора, что позволяет подрессоривать массу двигателей. Таким образом, одноступенчатый тяговый редуктор является связующим звеном между необрессоренной колесной парой и другими (подрессоренными) узлами колесно-моторного блока локомотива.
На отечественных тепловозах нашли применение два способа подвешивания тяговых электродвигателей: опорно-осевое и опорно-рамное.
При опорно-осевом подвешивании часть нагрузки от веса тягового электродвигателя (примерно половина его веса) передается на ось колесной пары, а другая часть через упругие опоры (комплект пружин) — на раму тележки. При таком способе подвешивания необрессоренная масса одного колесно-моторного блока грузового тепловоза, например 2ТЭ10В, которая жестко передается от колесной пары на рельсы, составляет около 4250 кг.
Опорно-осевое подвешивание тяговых электродвигателей получило наибольшее распространение на грузовых, маневровых и промышленных тепловозах с электрическими передачами. Тяговый электродвигатель 5 (см. рис. 1) одной стороной станины жестко опирается на ось колесной пары 3 через два подшипника скольжения 8, называемых моторно-осевыми, а другой стороной — через пружинный комплект 7 на подрессоренную раму тележки 6 (упругая опора). Вращающий момент от шестерни 4 тягового электродвигателя передается на зубчатое колесо 2, напрессованное на ось колесной пары. Такая компоновка двигателя и колесной пары обеспечивает постоянство межцентрового расстояния зубчатой передачи «А» при опорно-осевом подвешивании и дает возможность реализации силы тяги более 40 кН на каждой оси грузового тепловоза, что очень важно для вождения тяжеловесных поездов.
Основным недостатком опорно-осевого подвешивания тяговых электродвигателей является повышенное динамическое воздействие на путь, так как примерно половина веса двигателя (15 — 25 кН) жестко опирается на ось колесной пары. Износ моторно-осевых подшипников приводит к перекосу остова двигателя и усложняет условия работы тягового двигателя. Удары на стыках рельсов и при прохождении тепловозом неровностей пути также отрицательно сказываются на надежности самих ТЭД.
Опорно-рамное подвешивание тяговых электродвигателей применено на отечественных пассажирских тепловозах ТЭП60, ТЭП70, ТЭП80, ТЭП70БС, а также на грузовых тепловозах серии 2ТЭ121 и опытном 2ТЭ70. Такой тип подвешивания тяговых двигателей отличается от опорно-осевого тем, что вес ТЭД полностью передается на раму тележки, т.е. тяговый электродвигатель, а в ряде случаев и зубчатый редуктор подрессорены. В результате снижается динамическое воздействие локомотива на путь, увеличиваются надежность и сроки службы тяговых двигателей, уменьшаются ремонтные и эксплуатационные расходы.
Рис, 2. Схема опорно-рамного подвешивания тяговых электродвигателей тепловозов:
1 — бандаж колеса; 2 — зубчатое колесо; 3 — ось колесной пары; 4 — ведущая шестерня; 5 — ТЭД; 6 — рама тележки; 7 — пружинный комплект; 8 — МОП; 9 — пальцы (валики); 10 — полый вал; 11 — упругие элементы
При такой конструкции тягового привода ведомое зубчатое колесо 2 (рис, 2) напрессовано не на ось колесной пары, как при опорно-осевом подвешивании, а на полый вал 10, который охватывает ось колесной пары с зазором 35 мм. Полый вал соединен с колесными центрами упругой связью, которая выполнена в виде нескольких металлических пальцев 9 и резиновых втулок 11, запрессованных в колесные центры. Тяговый электродвигатель 5 тремя кронштейнами с пружинными комплектами опирается на раму тележки. Моторно-осевые подшипники 8 в этом случае охватывают полый вал 10.
Передача вращающего момента от электродвигателя на ось колесной пары происходит через зубчатые колеса 2, 4 (редуктор), полый вал 10, металлические пальцы 9, резиновые втулки 11 и колесные центры. Наличие резиновых втулок 11 позволяет обеспечивать постоянство межцентрового расстояния «А» (см. рис. 2) при вертикальных перемещениях колесной пары, неизбежно возникающих при прохождении тепловозом неровностей пути.
На отечественных тепловозах получили распространение две принципиально разные системы опорно-рамного подвешивания ТЭД: с передачей вращающего момента на оба колеса колесной пары через полый вал и упругую связь (тяговые муфты) и одностороннего привода с помощью карданного полого вала и тяговых муфт, связывающих венец упругого зубчатого колеса с полым валом и этот карданный вал с одним из колес пары.
Первая система тягового привода применена на пассажирских тепловозах ТЭП60 и первых семи локомотивах серии ТЭП70 и, в основном, соответствует принципиальной схеме опорно-рамного подвешивания ТЭД, приведенной на рис. 2. В отличие от этой схемы привода, привод обоих колес колесных пар тепловоза ТЭП60 осуществляется с помощью шарнирно-поводковых муфт, получивших также название «привод системы «Альстом», в честь известной французской фирмы «Альстом», впервые в практике мирового локомотивостроения применившей подобную конструкцию на своих тепловозах и электровозах, построенных для железных дорог Франции. Прежде всего, это грузопассажирские тепловозы серий ВВ69000, СС70000, СС72000 и электровозы ВВ16500, СС6500, СС10000, СС10400, СС21000 и др.
Более совершенной конструкцией является односторонний привод колесных пар тепловоза. В этом случае вращающий момент от ступицы зубчатого колеса тягового редуктора передается на полый вал через упругую связь — шарнирно-поводковую муфту (муфту «Альстом»). Подобная система привода колесных пар локомотива, которая получила название «тяговый привод третьего класса», применена на серийном тепловозе серии ТЭП70.
Рис. 3. Опорно-рамный тяговый привод колесной пары тепловоза ТЭП70:
1 —ось колесной пары; 2 — колесный центр; 3, 16 — пальцы (валики); 4, 13 — фланцы полого вала; 5 — ТЭД; 6 — полый вал; 7 — неподвижная опора; 8 — опорный подшипник; 9 — упругое зубчатое колесо; 10 — фланец зубчатого колеса; 11 — бандаж колеса; 12 — резинометаллический шарнир; 14 — букса; 15 — бандажное кольцо
Шестерня тягового редуктора напрессована на вал якоря ТЭД тепловоза ТЭП70. Ступица упругого зубчатого колеса 9 редуктора (рис. 3) вращается на роликовых опорных подшипниках 8, размещенных на неподвижной опоре, которая, в свою очередь, жестко (шестью болтами) соединена с корпусом ТЭД.
Ступица колеса 9 имеет четыре прилива, выполненных в форме фланцев 10, в которых на металлических валиках 13 укреплены головки поводков (на рис. 3 поводки не показаны) с резинометаллическими шарнирами 12. Другая сторона (головка) поводка соединена с фланцем полого вала (на рис. 3 это правый фланец). Необходимо отметить, что все эти поводки, валики и резинометаллические шарниры собственно и составляют конструкцию шарнирно-поводковой муфты (муфты «Альстом»), обеспечивающую линейные и угловые перемещения полого вала относительно оси колесной пары за счет деформации резиновых элементов тяговых муфт.
Полый вал 6 (см. рис. 3), как и в приводе колесных пар тепловозов ТЭП60, охватывает ось колесной пары с определенным зазором. Далее через полый вал 6 вращающий момент передается к другой тяговой (также шарнирно-поводковой) муфте, которая размещена с наружной стороны колесного центра колеса, дальнего по отношению к тяговому редуктору. Эта тяговая муфта поводками соединяет полый вал с пальцами 3 и 16, запрессованными в колесном центре левого колеса. От этого колеса вращающий момент через ось колесной пары поступает к другому, ближнему к тяговому редуктору, колесу.
Таким образом, в системе опорно-рамного подвешивания ТЭД тепловоза ТЭП70 и тяговые двигатели, и тяговые редукторы являются подрессоренными узлами, так как крепятся на раме тележки через пружинные комплекты, а вращающий момент передается на ось колесной пары посредством тяговых муфт.
Применение на тепловозах ТЭП70 одностороннего привода третьего класса, по сравнению с приводом тепловоза ТЭП60, позволило снизить массу каждого колесно-моторного блока примерно на 2 т (а тяговых осей шесть!), значительно уменьшить динамическое воздействие на рельсовую колею при движении локомотивов и в целом повысить надежность работы колесно-моторных блоков тепловозов. Накопленный опыт эксплуатации тепловозов ТЭП70 с приводом третьего класса подтвердил высокую надежность шарнирно-поводковых муфт и тягового привода в целом.
Актуальной проблемой отечественного тепловозостроения остается создание надежной конструкции опорно-рамного подвешивания ТЭД для грузовых тепловозов. Главная трудность использования на грузовых тепловозах опорно-рамного привода — неизбежное увеличение межцентрового расстояния между шестерней и зубчатым колесом тягового редуктора (размер «А» на рис. 2) и, как следствие, габаритов и веса колесно-моторного блока, а также повышение нагрузки от колесной пары на рельсы.
Как отмечалось ранее, в процессе трогания с места и разгона тяжеловесных грузовых составов тепловозы должны иметь возможность реализовывать большие значения силы тяги (порядка 60 — 75 кН на ось). Выполнение данного условия возможно применением на каждой секции тепловоза силовой установки мощностью не менее 3000 кВт, а также тягового редуктора с повышенным (порядка 4,41) передаточным числом i. Напомним читателю, что на пассажирском тепловозе ТЭП60 применяют тяговый редуктор с i = 3,12 — 72/31. Это означает, что пассажирский тепловоз ТЭП60 с опорно-рамным приводом развивает силу тяги при трогании и разгоне в 1,9 раза меньше, чем секция грузового тепловоза 2ТЭ116, имеющая ту же мощность 2200 кВт, но оборудованная опорно-осевым приводом с i = 4,41.
В 1977 г. на Ворошиловградском тепловозостроительном заводе (ныне ОАО ХК «Лугансктепловоз») был построен первый опытный грузовой тепловоз 2ТЭ121 мощностью 2×2950 кВт с опорно-рамным приводом колесных пар.
Нагрузка от колесных пар тепловоза 2ТЭ121 получилась 245 кН, а диаметр колес увеличен до 1250 мм. Всего до 1987 г. было построено 34 тепловоза этой серии, которые проходили опытную эксплуатацию на Северной дороге и были приписаны к депо Печора.
На тепловозах 2ТЭ121 применена достаточно оригинальная конструкция опорно-рамного подвешивания ТЭД. Вращающий момент от якоря ТЭД передается не шестерне тягового редуктора, а через зубчатую муфту торсионному валу, расположенному внутри полого вала якоря ТЭД. Затем от торсионного вала вращающий момент передается через резинокордную муфту ведущей шестерне тягового редуктора, далее — венцу упругого зубчатого колеса, его ступице и, наконец, оси колесной пары тепловоза.
В процессе эксплуатации тепловозов 2ТЭ121 выявился ряд конструкционных недостатков, а также низкая надежность узлов тягового привода колесных пар, подшипников коленчатого вала дизеля, тормозной системы и ряда других узлов. Так, только за первые два года эксплуатации опытной партии тепловозов 2ТЭ121 учеными МИИТа было зафиксировано 579 отказов резинокордной тяговой муфты привода колесных пар локомотива. В целом количество неплановых ремонтов тепловозов 2ТЭ121 достигло величины 211,3 на 1 млн. км пробе-га. Также был отмечен серьезный перерасход тепловозами этой серии дизельного топлива по сравнению с грузовыми тепловозами 2ТЭ116. Повышенные нагрузки от колесных пар тепловоза 2ТЭ121 на рельсы также негативно отразились на техническом состоянии верхнего строения пути. По этим и ряду других причин тепловозы 2ТЭ121 не выдержали эксплуатационные испытания, поэтому их модернизация и производство были прекращены.
В последние годы на предприятии «Коломенский завод», входящем в состав объединения «Трансмашхолдинг», построен опытный образец грузового двухсекционного тепловоза нового поколения серии 2ТЭ70 мощностью 2×3000 кВт, предназначенного для вождения поездов со скоростями до 110 км/ч. Двенадцатиосный тепловоз 2ТЭ70 может реализовывать значение силы тяги на расчетном (длительном) режиме работы 608 кН (2×304 кН), а при трогании с места — до 75 кН на каждой оси. Он имеет приемлемую нагрузку от колесной пары на рельсы, равную 2П = 230,5 кН. Локомотив оборудован односторонней системой тягового привода колесных пар, схожей с конструкцией тягового привода третьего класса пассажирских тепловозов ТЭП70, ТЭП80 и ТЭП70БС.
Важную роль в конструкции индивидуального тягового привода, особенно при опорно-осевом подвешивании тяговых электродвигателей, играют моторно-осевые подшипники (МОП). Они могут быть двух типов — скольжения и качения. Читателю хорошо известны преимущества подшипников качения, особенно роликовых по сравнению с подшипниками скольжения. Например, применение подшипников качения в буксах локомотивов и вагонов позволяет примерно в восемь раз снизить затраты мощности дизеля на преодоление сил сопротивления от трения в буксовых подшипниках при трогании с места и разгоне поезда по сравнению с вагонами, оборудованными буксами с подшипниками скольжения.
Тем не менее, на всех сериях отечественных локомотивов применяются подшипники скольжения. Основные достоинства их заключаются в простоте конструкции, возможности замены вкладышей без расформирования колесной пары и сравнительно незначительной толщине, что имеет существенное значение при ограниченном расстоянии между центрами зубчатого колеса и шестерни (размер «А» на рис. 1 и 2).
Попытки применения на опытных тепловозах 2ТЭ10Л и электровозах конструкций приводов с цилиндрическими роликовыми МОП показали их недостаточную надежность из-за перекосов и защемления роликов в эксплуатации, что поставило под угрозу безопасность движения поездов. Дополнительно возникли серьезные затруднения при ремонте МОП, так как при смене роликов приходилось разбирать колесную пару, а после ее формирования проводить полное освидетельствование со всеми видами работ (см. «Локомотив» № 7, 2007 г.). В этой связи опытные колесно-моторные блоки с роликовыми моторно-осевыми подшипниками были изъяты из эксплуатации.
Применяемые на тепловозах моторно-осевые подшипники скольжения имеют по два разъемных вкладыша, изготовленные из бронзы ОЦС 4-4-17. Верхний вкладыш 3 (рис. 4> вставляется в расточку корпуса 1 тягового электродвигателя, нижний 4 — в шапку 5, притягиваемую к корпусу болтами 15. Нижний вкладыш имеет прямоугольное окно 14размером 180×60мм для подвода смазки (осевого масла) к шейке оси 2. Положение обоих вкладышей фиксируется шпонкой 16. Вкладыши МОП одного тягового электродвигателя взаимозаменяемые.
Рис. 4. Моторно-осевой подшипник с польстером:
1 — корпус ТЭД; 2 — ось колесной пары; 3 — верхний вкладыш; 4— нижний вкладыш; 5 — шапка МОП; 6 — масляная ванна; 7 — направляющее устройство; 8 — крышка; 9 — пружина; 10 — стержень поплавка; 11 — пробка; 12 —коробка; 13 — пакет фитилей; 14 —окно; 15 —болт; 16 — шпонка.
Конструкции МОП различают по системам их смазки. Так, на тепловозах старой постройки ТЭЗ и 2ТЭ10Л, оборудованных тяговыми электродвигателями ЭДТ-200Б и ЭД-107 (соответственно), шейки смазывают с помощью набивки из шерстяной пряжи.
На грузовых тепловозах более поздних годов выпуска — 2ТЭ10В, ЗТЭ10М, 2ТЭ116 и др., на которых установлены тяговые электродвигатели ЭД-118А, применена более простая и относительно совершенная польстерная (фитильная) система смазки МОП. Принцип работы этой системы основан на капиллярной подаче масла из ванны к подушке (польстеру), прижатой пружиной к смазываемой части оси колесной пары. Корпус направляющего устройства 7 установлен и закреплен болтами на дне масляной ванны шапки 5 подшипника. В направляющих плоскостях устройства 7 перемещается коробка 12, в которой закреплен пакет фитилей 13. Этот пакет состоит из двух войлочных пластин с хлопчатобумажными фитилями между ними. Пружина 9, закрепленная на направляющем устройстве, прижимает к шейке 2 оси колесной пары коробку с фитилями усилием 40 — 70 Н.
Моторно-осевые подшипники смазывают осевой смазкой марки Л, 3 и С в зависимости от времени года. Уровень смазки в масляной ванне контролируется по стержню 10 поплавка при открытии крышки 8 или щупом. Пробка 11, расположенная в самой низкой части корпуса, служит для слива масла и конденсата.
К недостаткам фитильной подачи масла следует отнести замасливание (уплотнение) трущихся частей польстера, а также неудобство контроля зазора на «масло» в подшипнике в эксплуатационных условиях, что отрицательно сказывается на надежности экипажной части тепловозов.
Как отмечалось ранее (см. «Локомотив» № 8, 2007 г.), для повышения надежности колесно-моторных блоков грузовых тепловозов 2ТЭ10У и 2ТЭ116 начиная с 1986 г. стали устанавливать модифицированные тяговые электродвигатели постоянного тока ЭД-118Б с принудительной смазкой МОП.
Дополнительно к польстерной (фитильной) системе смазки, как на двигателях ЭД-118А, в средней части оси колесной пары каждого колесно-моторного блока с ЭД-118Б установлен маслосборник вместимостью 35 л. На крышке маслосборника смонтирован шестеренчатый масляный насос, имеющий механический привод от оси колесной пары посредством пары зубчатых колес (редуктора).
МОП двигателя ЭД-118Б состоят из двух вкладышей — нижнего и верхнего. В отличие от МОП двигателей ЭД-118А, нижний вкладыш ЭД-118Б совместно с корпусом МОП составляют единый осевой подшипник скольжения, который включает в себя две польстерные камеры (по одной для каждого МОП) и крепится к корпусу.
При движении тепловоза шестеренчатый масляный насос подает масло из маслосборника по каналам в польстерные камеры, откуда самотеком через окна во вкладышах масло проникает в зазор между осью колесной пары и вкладышами МОП. В результате создается так называемый масляный клин, обеспечивающий жидкостное трение.
Отработанное масло по каналам сливается в маслосборник. Таким образом, круг циркуляции смазки образован каналами, соединяющими оба МОП с маслосборником, масляным насосом, маслосборником и польстерным устройством.
Так как производительность масляного насоса зависит, в первую очередь, от частоты вращения колесной пары (скорости движения), принудительная система смазки обеспечивает надежную работу МОП двигателей ЭД-118Б лишь при достижении скорости движения тепловоза примерно 25 км/ч. В период разгона и работе тепловоза при меньших скоростях подача смазки к вкладышам МОП осуществляется польстерной системой смазки так же, как и на двигателях ЭД-118А.
Необходимо заметить, что вкладыши МОП двигателей ЭД-118Б выполнены биметаллическими с заливкой баббитом марки Б83 толщиной 2,5 мм. Такая конструкция вкладышей позволяет уменьшить вероятность задиров шеек осей колесных пар тепловоза, что наблюдалось при эксплуатации бронзовых вкладышей двигателей ЭД-118А. В целом интенсивность износа биметаллических вкладышей с принудительной системой смазки стала в два раза ниже, чем при польстерной смазке МОП.
Нужно отметить, что колесно-моторные блоки с тяговыми электродвигателями ЭД-118А и ЭД-118Б взаимозаменяемы.
Тяговый редуктор тепловоза предназначен для преобразования величины вращающего момента при его передаче от якоря ТЭД к оси колесной пары.
Тяговые редукторы тепловоза работают исключительно в неблагоприятных условиях: большие статические и динамические нагрузки, вибрации, непосредственная близость таких источников тепловой энергии, как ТЭД и тормозные колодки, возможность попадания в зацепление воды, снега и пыли (в том числе металлических частиц), сложность визуального и технического контроля даже на стоянках поезда и др.
Как отмечалось выше, на тепловозах применяют односторонний тяговый редуктор, который состоит из ведущей шестерни (малого зубчатого колеса), зубчатого колеса и кожуха. Последний защищает зубчатые колеса редуктора от атмосферных осадков, пыли и грязи, а также служит емкостью для смазки зубчатого зацепления.
Шестерня тягового редуктора изготовлена из стали 20Х2Н4А. Она напрессовывается на конический хвостовик вала якоря ТЭД тепловым способом, с предварительным нагревом до температуры 170 °С. Прочность посадки шестерни обеспечивается натягом 1,3 — 1,45 мм. Для предотвращения сползания шестерни с конического хвостовика вала в процессе эксплуатации она дополнительно закреплена гайкой и законтрена отгибочной шайбой.
Рис. 5. Упругое зубчатое колесо тягового редуктора грузовых тепловозов:
1 —гайка; 2, 3, 5, 6, 14, 16 —втулки; 4 —зубчатый венец колеса; 7 —ограничительное кольцо; 8 — ролик; 9 — болт; 10 — отражательное кольцо; 11 — шайба; 12 — полукольцо; 13, 20 — пальцы; 15, 21, 22 — амортизаторы; 17 — тарелка; 18 — ступица колеса; 19 — пружинное кольцо; 23, 24 — упругие элементы
Зубчатое колесо (рис. 5) состоит из ступицы 18, напрессованной на ось колесной пары, зубчатого венца 4, который соединен со ступицей при помощи двух тарелок 17, и упругих элементов 23 и 24. Упругая связь зубчатого венца 4 со ступицей, состоящая из шестнадцати упругих элементов, равномерно расположенных по окружности колеса при работе редуктора, позволяет венцу занимать такое положение, при котором обеспечивается оптимальное зацепление двух зубчатых колес, т.е. наиболее полное прилегание по длине зубьев шестерни и колеса. Такие зубчатые колеса называют упругими и самоустанавливающимися.
Зубчатый венец 4 изготавливают из стали 45ХН. Рабочая поверхность зубьев подвергается закалке, чем обеспечиваются их заданная твердость и износостойкость.
ГРУППОВОЙ ТЯГОВЫЙ ПРИВОД.
Как отмечалось ранее, групповой привод колесных пар применяется на всех отечественных тепловозах с гидродинамическими передачами. Вращающий момент от выходного вала гидропередачи к колесным парам тепловоза при таком типе привода может быть передан либо с помощью спарникового механизма, аналогичному паровозному, либо карданным приводом, состоящим из шарниров (карданов), карданных валов и осевых редукторов.
Спарниковый механизм нашел применение в тяговом приводе промышленных тепловозов, построенных на Муромском тепловозостроительном заводе (ныне ОАО «Муромтепловоз»), — ТГМ1, ТГМ23В, ТГМ23Д и др. Он состоит из отборного вала и системы спарников, связывающих его с движущимися осями. На каждую сторону тепловоза устанавливают по три сочлененных между собой спарника: переднего, заднего и среднего. Соединение колесных пар с рычагами осуществляется с помощью шарнирных валиков (пальцев) и стальных втулок, которые запрессованы в головки дышел. На рис. 6 показан тепловоз ТГМ23В со спарниковым приводом колесных пар.
Такой тип группового тягового привода отличается простотой устройства и обслуживания, надежностью и низкой стоимостью изготовления. Однако необходимость соединения всех осей рычажной передачей не позволяет использовать такой тяговый привод на тележечных локомотивах. К недостаткам этого типа привода также нужно отнести повышенное динамическое воздействие экипажа на путь, особенно при высоких скоростях движения, из-за неуравновешанности рычажного механизма. Тем не менее, применение такого типа привода на безтележечных тепловозах Муромского тепловозостроительного завода, имеющих максимальную скорость движения 30 км/ч и мощность около 300 кВт, экономически оправдано.
Карданный привод применяется в конструкциях тепловозов тележечного типа с гидравлическими передачами, выпускаемых Людиновским (ТГ22, ТГМ6, ТГМ4 и др.) и Камбарским (ТГМ40 и ТУ7) тепловозостроительными заводами. Вращающий момент от дизеля (рис. 7) передается к гидропередаче ГДП через эластичную муфту 1, затем от выходного вала гидропередачи распределяется на две тележки: сначала через раздаточные карданные валы 5 к средним осевым редукторам 3 колесных пар, далее промежуточными карданными валами 4 —к крайним осевым редукторам 2 и на привод колесных пар.
Рис. 6. Тепловоз ТГМ23В со спарниковым механизмом
Рис. 7. Схема группового привода колесных пар тепловозов ТГМ6Д и ТГМ8:
1 — упругая муфта; 2, 3 — осевые редукторы; 4, 5 — карданные валы
Необходимо отметить, что применение группового тягового привода, по сравнению с индивидуальным, позволяет значительно (до 30 %) повысить величину коэффициента сцепления. Другими словами, экипаж с групповым приводом обладает меньшей склонностью к боксованию, т.е. более высокими тяговыми свойствами, что очень важно при выполнении маневровой и грузовой работы локомотивов.
Итак, мы рассмотрели основные вопросы, связанные со способами передачи вращающего момента от тягового электродвигателя или гидропередачи к колесным парам тепловоза. Следующие, не менее важные вопросы, это о том, как передать силу тяги от ведущих колесных пар к рамам тележек и раме тепловоза, о силовом взаимодействии экипажа локомотива и пути, а также об условиях устойчивого и безопасного движения в рельсовой колее.


















