Система смазки двигателя
Система смазки двигателя комбинированная: под давлением и разбрызгиванием. Маслом под давлением смазываются коренные и шатунные подшипники коленчатого вала, подшипники распределительного вала, упорные подшипники коленчатого и распределительного валов, втулки коромысел и верхние наконечники штанг толкателей. Остальные детали смазываются разбрызгиванием маслом.
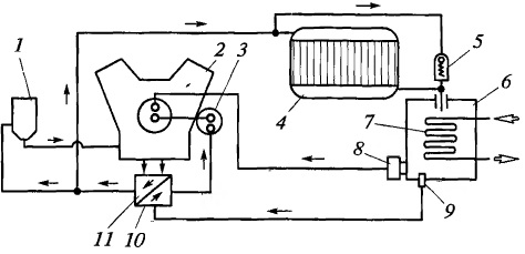
В систему смазки входят маслоприемники, масляный насос (установлен внутри масляного картера) с редукционным клапаном, масляные каналы, фильтры очистки масла с перепускным клапаном, масляный картер, измеритель уровня масла, маслоналивной патрубок с крышкой-фильтром вентиляции картера и масляный радиатор (установлен перед радиатором охлаждающей жидкости) с ограничительным клапаном и запорным краном.
Масло, забираемое насосом из масляного картера, поступает через маслоприемник 19 по каналам в корпусе насоса и наружной трубке в корпус масляного фильтра. Далее, пройдя через фильтрующий элемент, масло направляется в полость второй перегородки блока цилиндров, откуда по сверленному каналу — в продольный масляный канал 12. Из продольного канала масло по наклонным каналам 27 и 26 и каналу 25 в перегородке блока подается на коренные подшипники коленчатого из пятой опоры распределительного вала и в полость блока между валом и заглушкой, отводится в картер через отверстие 15 в шейке вала. На шатунные шейки масло поступает по каналам 24 в шейках и каналу 29 в шейке коленчатого вала. В ось коромысел масло подводится от задней опоры распределительного вала, имеющего посередине кольцевую канавку 13, которая сообщается через каналы 6, 5 и 4 в блоке, головке цилиндров и в четвертой стойке оси коромысел с осью коромысел. Через отверстия 2 в оси коромысел масло поступает на втулки коромысел и далее по каналам 9, 8 и 10 в коромыслах и регулировочных винтах на верхние наконечники штанг толкателей. К шестерням привода распределительного вала масло подводится по трубке 23, периодически сообщающейся с масляным каналом в блоке через канавки 21 на шейке первого подшипника распределительного вала. Из выходного отверстия тpубки, имеющей малый диаметр, в момент, когда она сообщается с масляным каналом, выбрасывается струя масла, направленная на шестерни. Через канал в шейке первого подшипника распределительного вала масло из тех же канавок шейки поступает и на упорный фланец распределительного вала. Шестерня привода масляного насоса и распределителя зажигания смазывается струей масла, выбрасываемой из канала 16 в блоке, соединенного с четвертой опорой распределительного вала, также имеющей кольцевую канавку. Стенки цилиндров смазываются брызгами масла от струи, выбрасываемой из отверстия 28 в нижней головке шатуна при совпадении этого отверстия с каналом 29 в шейке коленчатого вала. Все остальные детали (стержень клапана, торец клапана, ось привода масляного насоса и распределителя зажигания, кулачки распределительного вала) смазываются маслом, вытекающим из зазоров в подшипниках и разбрызгиванием движущимися деталями двигателя.
Подшипники водяного насоса смазываются через отдельную масленку, установленную на его корпусе.
В систему включен масляный радиатор 22. Масло в него поступает через штуцер, который крепит наружную трубку к блоку, предохранительный клапан и кран по резиновому шлангу. Охлажденное масло также по резиновому шлангу отводится в нижнюю часть крышки распределительных шестерен, откуда сливается в картер. На месте входа в крышку имеется перегородка, препятствующая излишнему разбрызгиванию масла.
Емкость системы смазки 6 л. Масло заливается в картер через патрубок (расположен на крыше коромысел) с крышкой-фильтром 1 для вентиляций картера. Уровень масла контролируется по меткам “П” и “0” на стержне указателя уровня. Уровень масла следует поддерживать вблизи метки “П”, не превышая ее. Повышение уровня выше метки “П” нежелательно, так как кривошипные головки шатунов будут задевать за поверхность масла, вызывая образование в картере чрезмерного масляного тумана. Это вызывает забрызгивание свечей, интенсивное образование нагара на днищах поршней и стенках камеры сгорания, закоксовывание колец, дымление двигателя и повышенный расход масла. Понижение уровня масла ниже метки “0” опасно, так как при этом прекращается подача масла в систему и возможно выплавление подшипников. Необходимо иметь в виду, что для перетекания заливаемого при заправке масла из-под крышки коромысел в картер или для отекания масла, обильно разбрызганного во время работы на стенки, требуется некоторое время. Поэтому уровень масла следует проверять через несколько минут после заливки или остановки двигателя. После замены масла нужно пустить двигатель и дать ему поработать несколько минут. Спустя некоторое время проверяют уровень масла как указано выше.
Сливать масло для замены нужно только на горячем двигателе. В этом случае масло имеет меньшую вязкость и хорошо стекает. При смене масла следует также слить отстой из масляного фильтра и сменить фильтрующий элемент. Рекомендуется промывать и систему через одну смену масла. Для этого после слива масла из горячего двигателя в картер заливают промывочное масло ВНИИНП-ФД, пускают двигатель и дают ему поработать с малой частотой вращения 10 минут. Затем сливают промывочное масло, заменяют фильтрующий элемент и заливают свежее масло согласно карте смазки.
Давление в системе смазки при средних скоростях движения автомобиля (примерно 50 км/ч) и выключенном масляном радиаторе должно быть 2-4 кгс/см2. Оно может повыситься на непрогретом двигателе до 4,5 кгс/см2 и упасть в жаркую погоду до 1,5 кгс/см2. Уменьшение давления масла при средней частоте вращения ниже 1 кгс/см2 и при малой частоте вращения холостого хода ниже 0,5 кгс/см2 свидетельствует о неисправностях в системе смазки или о чрезмерном износе подшипников коленчатого и распределительного валов. Дальнейшая эксплуатация двигателя в этих условиях должна быть прекращена.
Давление масла определяется указателем на щитке приборов, датчик которого ввернут в корпус масляного фильтра. Кроме этого, система снабжена сигнальной лампой аварийного давления масла, датчик которого ввернут в отверстие в нижней части фильтра. Сигнальная лампа находится на панели приборов, светится красным светом при понижении давления в системе ниже 0,4-0,9 кгс/см2. Эксплуатировать автомобиль со светящейся лампой аварийного давления масла нельзя. Допустимо лишь кратковременное свечение лампы при малой частоте вращения холостого хода. Если система исправна, то при некотором повышении частоты вращения лампа гаснет.
1. Фильтр вентиляции картера — крышка маслоналивной горловины. 2. Отверстие для подвода масла к коромыслу. 3. Отверстие для смазки. 4. Вертикальный канал в блоке и головке цилиндров. 5. Горизонтальный канал в блоке и головке цилиндров. 6. Вертикальный канал в блоке и головке цилиндров. 7. Маслоотражательный колпачок. 8. Поперечное сверление в регулировочном винте. 9. Канал в коромысле для подвода масла к регулировочному винту. 10. Канал в регулировочном винте. 11. Маслосьемное поршневое кольцо. 12. Продольный масляный канал. 13. Канавки на шейках распределительного вала. 14. Распределительный вал. 15. Отверстие для слива. 16. Каналы для подвода масла к шестерням. 17. Заглушки. 18. Сливная пробка масляного картера. 19. Маслоприемник. 20. Сливная пробка масляного фильтра. 21. Канавки на шейке распределительного вала. 22. Масляный радиатор. 23. Трубка подвода масла на шестерни распределительного вала. 24. Канал в коленчатом вале для подвода масла к шатунной шейке. 25. Канал коренного подшипника коленчатого вала. 26. Канал для подвода масла к шейкам распределительного вала. 27. Канал для подвода масла к коренным подшипникам коленчатого вала. 28. Канал в шатуне для смазки зеркала цилиндра. 29. Канал в шатунной шейке коленчатого вала. 30. Полость в шатунной шейке коленчатого вала. 31. Пробка крана масляного радиатора. 32. Корпус крана масляного радиатора. 33. Корпус предохранительного клапана масляного радиатора. 34. Клапан. 35. Пружина клапана. 36. Колпак клапана.
Какие детали смазываются под давлением и разбрызгиванием?
Под давлением смазываются наиболее нагруженные детали; коренные и шатунные шейки коленчатого вала, коренные шейки распределительного вала, подшипники коромысел, поршневые пальцы. Разбрызгиванием смазываются такие детали, как клапанный механизм, зубчатые колеса газораспределения, «зеркало» цилиндров.
Как осуществляется смазывание деталей двигателя под давлением?
Под давлением масло подается в масляный фильтр, где очищается от механических примесей. Затем по каналам масло поступает к коренным и шатунным шейкам (подшипникам) коленчатого вала, опорам распределительного вала, верхней опоре шатуна для смазки поршневого пальца.
Как смазываются стенки цилиндров?
Стенки цилиндров смазываются брызгами масла от струи, выбрасываемой из отверстия 28 в нижней головке шатуна при совпадении этого отверстия с каналом 29 в шейке коленчатого вала.
Что смазывает масло в двигателе?
Большая часть масла смазывает коленвал, остальная часть — кулачковый вал и коромысла клапанов. От оснащения автомобиля верхним распредвалом или толкателями зависит движение масла в двигателе: Оснащен толкателями. Масло под давлением выталкивается в кулачки для подъема клапана.
Для чего нужна смазка трущихся деталей двигателя?
Назначение системы смазки двигателя Главное, что выполняет система смазки — заменяет «сухое» трение на «мокрое», в результате трение между трущимися деталями снижается на порядок, и двигатель может нормально работать.
Какие элементы входят в систему смазки?
Элементы системы смазки двигателя:Поддон картера. Резервуар для хранения масла. . Маслозаборник. . Масляный насос – приспособление, главная функция которого – закачивать в систему масло. . Масляный фильтр. . Датчик давления. . Радиатор (стоит не на всех транспортных средствах). . Редукционные клапаны.Sep 11, 2020
Какие бывают виды смазки?
Виды и типы смазочных материаловминеральные — в их основе лежат углеводороды, продукты переработки нефтисинтетические — получаются путём синтеза из органического и неорганического (например, силиконовые смазки) сырьяорганические — имеют растительное происхождение (например: касторовое масло, пальмовое масло)
Как масло смазывает поршень?
Масло, распределяемое тонкой пленкой по поверхности цилиндра, выполняя функцию разделения трущихся поверхностей, одновременно нагревается, подвергается воздействию горячих, агрессивных продуктов сгорания и воздуха, большим тепловым потокам со стороны поршня.
Как подается масло в цилиндр?
Масло подается в цилиндр через несколько сверлений во втулке (обычно 6-8), расположенных равномерно по окружности в определенных положениях по высоте, в соответствии с положениями поршня.
Какие детали смазываются под давлением?
Под давлением смазываются наиболее нагруженные детали; коренные и шатунные шейки коленчатого вала, коренные шейки распределительного вала, подшипники коромысел, поршневые пальцы. Разбрызгиванием смазываются такие детали, как клапанный механизм, зубчатые колеса газораспределения, «зеркало» цилиндров.
Какие детали относятся к системе смазки двс?
Элементы системы смазки двигателя:Поддон картера. Резервуар для хранения масла. . Маслозаборник. . Масляный насос – приспособление, главная функция которого – закачивать в систему масло. . Масляный фильтр. . Датчик давления. . Радиатор (стоит не на всех транспортных средствах). . Редукционные клапаны.Sep 11, 2020
Какие детали смазываются под давлением и разбрызгиванием? Ответы пользователей
Какие детали двигателя смазываются самотеком, разбрызгиванием и под давлением.
Какие детали двигателя смазываются самотеком, разбрызгиванием и под давлением.
Разбрызгиванием смазываются такие детали, как клапанный механизм, зубчатые колеса газораспределения, «зеркало» цилиндров. Самотеком смазываются .
Под давлением смазываются наиболее нагруженные трущиеся детали двигателей – коренные и шатунные подшипники коленчатого вала, опорные подшипники .
В ней часть деталей смазывается под давлением, а другая часть . Все остальные части двигателя смазываются маслом разбрызгиванием.
Давление масла в системе контролируется специальным датчиком, . часть деталей смазывается под давлением, а другая часть – разбрызгиванием или самотеком.
Прн комбинированной системе смазки, принятой в современных двигателях, часть деталей смазывается под давлением, а часть — разбрызгиванием. [11].
1.Какие детали двигателя смазываются под давлением масла? 2.Какие детали двигателя смазываются разбрызгиванием масла? 3.Какие двигатели имеют 2-секционные .
Работа по теме: лабор №4. Глава: 7.Какие детали двигателя смазываются самотеком, разбрызгиванием и под давлением.. ВУЗ: ТюмГНГУ.
Какие детали двигателя смазываются самотеком, разбрызгиванием и под давлением.
Какие детали двигателя смазываются под давлением? . омываются пульсирующей струей, а остальные детали смазываются разбрызгиванием масла или самотеком.
Разбрызгиванием смазываются стенки цилиндров, поршни, поршневые кольца, поршневые пальцы, детали газораспределительного механизма, его цепного или шестеренного .
Какие детали смазываются под давлением и разбрызгиванием? Видео-ответы
Система смазки двигателя
В обучающем видео мы узнаем принцип работы и устройство системы смазки автомобиля — одной из подсистем ДВС.
Назначение системы смазки
. смазки комбинированного типа часть деталей смазывается под давлением часть разбрызгиванием и окунанием и часть .
Система смазки двигателя Устройство Основные неисправности Как продлить жизнь двигателя
Система смазки в двигателе необходима для уменьшения силы трения между его подвижными деталями, их охлаждения, .
СИСТЕМА СМАЗКИ ДВИГАТЕЛЯ ПРИНЦИП РАБОТЫ
Как циркулирует масло в двигателе? В поддоне двигателя находится моторное масло, в нижней точке поддона .
Система смазки двигателя внутреннего сгорания на примере системы смазки ЯМЗ-7511.
Рассматривается учебный вопрос программы подготовки водителей 6 разряда (водитель пожарного автомобиля) «система .
Система смазки двигателя внутреннего сгорания ДВС в 3D Как работает
В обучающем видео мы узнаем принцип работы и устройство системы смазки автомобиля — одной из подсистем ДВС.
Изучаем систему смазки двигателя.
Система смазки служит для создания масляной пленки между трущимися деталями, их охлаждения и удаления продуктов .
Об авторе
Иван Быстров
Здравствуйте! Меня зовут Иван Быстров, и я главный редактор этого сайта. Мне 32 года, я живу в Ярославской области России. Я всегда увлекался автомобилями, всегда хотел узнать больше, но зачастую не мог найти ответы на свои вопросы. Это сподвигло меня на создание проекта, где будет собрано воедино максимальное количество вопросов про автомобили, и на каждый из них будет предложен грамотный ответ! Очень надеюсь, что мой труд поможет всем получить новые знания быстро и без лишних затрат энергии!
Как осуществляется смазывание деталей двигателя под давлением?
Смазка двигателя осуществляется циклически. При работе двигателя масляный насос закачивает масло в систему. Под давлением масло подается в масляный фильтр, где очищается от механических примесей. … При этом образуется масляный туман, который оседает на другие детали двигателя и смазывает их.
Какие детали двигателя смазываются под давлением?
Под давлением смазываются наиболее нагруженные детали; коренные и шатунные шейки коленчатого вала, коренные шейки распределительного вала, подшипники коромысел, поршневые пальцы.
Какие детали двигателя смазываются пульсирующим потоком масла?
К шатунным подшипникам масло подается по каналу коленчатого вала от ближайшей к ним коренной шейки. Опоры штанг и толкателей газораспределительного механизма омываются пульсирующей струей, а остальные детали смазываются разбрызгиванием масла или самотеком.
Какая деталь нагнетает масло в смазочную систему?
Масло из картера (масляного поддона 1) через маслоприемник 6 нагнетается шестеренчатым насосом, состоящим из двух секций. Основная секция насоса 7 подает масло к фильтру грубой очистки 10, включенному последовательно.
Как осуществляется подвод масла для смазки деталей грм?
Из переднего коренного подшипника коленвала масло поступает на привод ГРМ и в головку блока цилиндров, где образует масляную ванну — так осуществляется смазка коромысел, толкателей, клапанов и других деталей. Из ГБЦ масло по сливным каналам стекает в поддон картера.
Какие детали привода клапана смазываются под давлением?
Под давлением смазываются наиболее нагруженные трущиеся детали двигателей – коренные и шатунные подшипники коленчатого вала, опорные подшипники распределительного вала, подшипники вала привода масляного насоса и др.
Как подводится смазка к поверхностям трения механизмов двигателей?
Масло подводится в зазоре между поверхностями, трущимися друг о друга. Это уменьшает величину трения, охлаждает поверхность и удаляет продукты износа. Пленка масла, образовавшаяся между цилиндром и поршнем, способствует повышению компрессии двигателя и уплотнению соединений.
Что смазывает масло в двигателе?
Большая часть масла смазывает коленвал, остальная часть — кулачковый вал и коромысла клапанов. От оснащения автомобиля верхним распредвалом или толкателями зависит движение масла в двигателе: Оснащен толкателями. Масло под давлением выталкивается в кулачки для подъема клапана.
Какие насосы используют в системах смазки дизеля?
Чтобы при этом давление масла в нагнетательной магистрали системы смазки было постоянным и не превышало критических значений, такие масляные насосы всегда дополняются редукционным клапаном.
Какие детали смазываются под давлением в двигателе
Смазочная система (система смазки) предназначена для подачи масла к трущимся поверхностям с целью уменьшения сил трения, а также для охлаждения деталей, удаления продуктов нагара и износа, предохранения деталей двигателя от коррозии.
Помимо этого, масло существенно уплотняет зазоры между сопряженными деталями.
Кроме перечисленных функций, смазочная система может выполнять и специфические задачи.
Моторное масло из смазочной системы применяется в гидрокомпенсаторах тепловых зазоров клапанов, гидронатяжителях привода газораспределительного механизма, в системах регулирования фаз газораспределения, в гидравлическом приводе вентилятора системы охлаждения и т. п.
Если рабочие поверхности деталей, сопрягаемых в подвижном соединении, абсолютно сухие, то имеет место сухое трение, сопровождающееся интенсивным выделением теплоты, изнашиванием поверхностей, и требующее значительных затрат энергии на относительное перемещение деталей.
Трение между поверхностями, разделенными достаточно толстым слоем масла, называется жидкостным. В этом случае усилие, необходимое для относительного перемещения деталей, значительно сокращается и существенно уменьшается изнашивание их рабочих поверхностей.
В двигателе внутреннего сгорания стойкое жидкостное трение удается осуществить только в подшипниках коленчатого вала на рабочих режимах.
Остальные сопряженные пары движутся возвратно-поступательно или качаются, поэтому на их поверхностях не удается сохранить масляный слой достаточной толщины. Такое трение, когда рабочие поверхности разделены лишь тонкой пленкой масла (толщиной менее 0,1 мм) называется граничным.
В зависимости от толщины пленки граничное трение может быть полужидким или полусухим. Последнее характеризуется возможностью “схватывания” микровыступов трущихся поверхностей, склонностью к задирам и эрозивному изнашиванию.
Полужидкое трение наиболее характерно для деталей цилиндропоршневой группы. В паре “выпускной клапан – направляющая втулка” возможно возникновение полусухого трения.
Подача масла к трущимся поверхностям должна быть бесперебойной. При недостаточной смазке теряется мощность двигателя, повышается износ деталей и возрастает вероятность отказа из-за разрушения подшипников коленчатого вала, заклинивания поршней, распределительного механизма и т. п.
Нельзя допускать и избыточного смазывания, так как это может привести к попаданию масла в камеру сгорания и на электроды свечей зажигания, вследствие чего увеличивается нагарообразование в днищах поршней, стенках камеры сгорания и клапанах.
Это приводит к перегреву и перебоям в работе двигателя, а также к перерасходу масла.
Требования к системе смазки двигателя
Требования, предъявляемые к смазочной системе, основываются на ее функциях и задачах:
- бесперебойная подача масла к трущимся деталям на всех режимах работы двигателя, на подъемах и спусках автомобиля с уклоном до 35 % и при крене до 25 %, при температуре окружающей среды от +50 до -50 ˚С, при положительных и отрицательных горизонтальных и вертикальных ускорениях;
- достаточная степень очистки масла от механических примесей;
- прочная конструкция;
- удобство технического обслуживания;
Способы смазки деталей двигателя
В зависимости от способа подачи масла к трущимся поверхностям различают следующие способы смазывания:
- разбрызгиванием и посредством масляного тумана;
- под давлением;
- комбинированное.
Под давлением масло подводится к трущимся деталям из главной масляной магистрали, давление в которой создается насосом.
Смазка разбрызгиванием осуществляется специальными форсунками или подвижными деталями кривошипно-шатунного механизма (КШМ), а также путем создания масляного тумана из стекающего в картер масла.
Комбинированная система смазывания сочетает в себе первые два способа.
В современных автомобилях, как правило, система смазки имеет комбинированное устройство. Ее особенность заключается в следующем: к деталям, более всего подверженным износу, масло подается под давлением, а к тем, которые работают в более легких условиях, разбрызгиванием.
Под давлением масло подводится к коренным и шатунным подшипникам коленчатого вала, опорам распределительного вала, сочленениям привода газораспределительного механизма (ГРМ), зубчатым колесам привода распределительного вала, топливному насосу высокого давления (ТНВД) дизелей.
В некоторых двигателях под давлением смазываются сопряжения верхней головки шатуна с поршневым пальцем.
Разбрызгиванием масло подается на зеркало цилиндра из отверстия в кривошипной головке шатуна, а также разбрызгивается специальными форсунками на днище поршня. Масляные форсунки могут быть расположены у верхней головки шатуна или в нижней части цилиндра.
Подаваемое на днище поршня масло выполняет двоякие функции – во-первых, оно охлаждает днище поршня, во-вторых, при стекании по стенкам гильзы, оно смазывает сопрягаемую пару “поршень-гильза цилиндров”, а далее, продолжая стекать в поддон и сталкиваясь с подвижными деталями КШМ, образует масляный туман, также смазывающий детали двигателя.
Существует способ смазывания самотеком , когда подача масла осуществляется по каналам из резервуаров, карманов, различных полостей и углублений, расположенных выше смазываемых поверхностей.
В зависимости от места размещения основного запаса масла смазочные системы могут быть с “мокрым” (рис. 1 ) или “сухим” ( рис. 2 ) картером.
Для детального просмотра кликните по рисунку мышкой, и схема откроется в отдельном окне браузера.
Наибольшее распространение на автомобильных двигателях получили смазочные системы с “мокрым” картером , которые имеют более простую конструкцию. В этом случае основной запас масла находится в поддоне картера и при работе двигателя масло подается к трущимся деталям масляным насосом, затем оно самотеком возвращается обратно в поддон.
Это техническое решение имеет ряд недостатков, наиболее существенные из которых – вспенивание масла при высоких оборотах коленчатого вала, а также сильное плескание в картере, из-за чего может оголиться маслоприемник, что ведет к значительному снижению давления в системе смазки и масляному “голоданию”.
Кроме того, относительно глубокий поддон негативно влияет на общие габариты и расположение центра тяжести двигателя и автомобиля в целом.
В системах с “сухим” картером основной запас масла содержится в отдельном масляном баке 5 ( рис. 2 ) и масло подается к трущимся деталям нагнетающей секцией масляного насоса. Стекающее в поддон масло полностью удаляется из него откачивающими секциями масляного насоса 9 и вновь подается в масляный бак 5.
Такая смазочная система обеспечивает надежную смазку на крутых подъемах, спусках и уклонах без утечки масла через уплотнения между деталями двигателя, а также позволяет уменьшить высоту двигателя за счет менее глубокого поддона.
Кроме того, при “сухом” картере масло в меньшей мере нагревается от горячих деталей и подвергается вредному воздействию картерных газов, благодаря чему дольше сохраняет смазывающие свойства.
Из недостатков системы смазки с “сухим” картером можно отметить высокую стоимость, больший вес, более сложное устройство и больший заправочный объем в сравнении с системой смазки с “мокрым” картером.
Система смазки с “сухим” картером обычно применяется на автомобилях с высокофорсированными двигателями, предназначенными, например, для гонок, а также в некоторых моделях внедорожников, которым часто приходится передвигаться по бездорожью со сложным рельефом местности.
В некоторых случая такая система смазывания деталей двигателя используется для уменьшения габаритной высоты силового агрегата.
Назначение и устройство системы смазки
Система смазки служит для подвода масла к трущимся поверхностям деталей двигателя, частичного отвода теплоты и продуктов изнашивания.
Система смазки 2108. Под давлением масла
происходит смазка коренных и шатунных
подшипников коленчатого вала,
опор распределительного вала.
Масло, поступающее к трущимся поверхностям, уменьшает потери на трение и износ деталей, охлаждает трущиеся поверхности и очищает их от продуктов изнашивания.
Автомобильные двигатели имеют комбинированную смазочную систему, в которой масло к трущимся поверхностям одних деталей подается под давлением от насоса, а к другим -путем разбрызгивания и самотеком.
Под давлением смазываются наиболее нагруженные детали; коренные и шатунные шейки коленчатого вала, коренные шейки распределительного вала, подшипники коромысел, поршневые пальцы.
Разбрызгиванием смазываются такие детали, как клапанный механизм, зубчатые колеса газораспределения, «зеркало» цилиндров.
Самотеком смазываются штанги, толкатели, кулачки распределительного вала и др.
Система смазки включает в себямасляный насос, резервуар для масла ( поддон картера), маслоприемник с сетчатым фильтром первичной очистки масла, масляные фильтры, масляные каналы и маслопроводы, масляный радиатор, редукционный и перепускные клапаны, масло заливную горловину с крышкой, приборы контроля уровня и давления масла, приборы вентиляции картера.
Масляные радиаторы двигателя по
конструкции аналогичны трубчато-пластинчатым
радиаторам системы охлаждения
или выполнены из оребренных трубок.
Редукционный клапан предохраняет систему масло подачи от чрезмерных давлений, возникающих при пуске холодного двигателя, когда вязкость масла велика. Редукционный клапан находится в канале, соединяющем полости нагнетания и всасывания. Канал перекрывается шариком или поршнем, поджимаемым пружиной. С помощью пробки регулируют сжатие пружины, а следовательно, и давление в масляной магистрали. При повышении давления поршень отходит от седла, и масло проходит из полости нагнетания в полость всасывания.
При работе двигателя масло засасывается из поддона картера насосом через маслоприемник и подается в фильтр. Фильтр, через который проходит все масло, поступающее в главную магистраль, называется последовательно включенным или полно поточным. Если проходит только часть масла (10—15 %), фильтр называется не полно поточным.
Конструкция масляного насоса с маслоприемником
В картере масло в виде тумана оседает на стенки цилиндров. У некоторых двигателей ь нижней головке шатуна имеется отверстие, через которое при его совпадении с каналом в шатунной шейке масло выбрасывается в наиболее нагруженную часть стенки цилиндра.
Давление масла контролируется электрическим манометром, датчик которого установлен в главной масляной магистрали, а указатели — на щитке приборов. Давление масла в карбюраторных двигателях 0,05 — 0,4 МПа, в дизелях 0,1 — 0,6 МПа.
Для охлаждения масла некоторые двигатели снабжены радиатором. Охлажденное масло сливается в поддон картера.
Масляные фильтры служат для очистки масла
от механических примесей (продуктов изнашивания трущихся деталей, нагара и т. п.).
Назначение и устройство системы смазки: 1 и 18 — пробки маслосливных отверстий; 2- маслоприемник; 3 — масляный насос; 4 — редукционный клапан; 5 — коленчатый вал; 6 – масляная магистраль, 7 — распределительный вал, 8 – масляный радиатор; 9 — крышка масло заливной горловины, 10 — коромысло; 11 – крышка головки блока цилиндров; 12 — головка блока цилиндров; 13 — клапан; 14 — штанга; 15 — толкатель; 16 — датчик указатель давления масла; 17 — масляный фильтр; 19 — датчик лампы аварийного снижения давления масла; 20 — ограничительный клапан; 21 — кран масляного радиатора; 22 — поддон; 23 — отверстие в шатуне; 24 и 25 — масляные каналы в головке и блоке цилиндров, 26 – указатель уровня масла (щуп), 27 — винтовая канавка; 28 и 32 — каналы для стока масла; 29 — пробка; 30 — капал и коленчатом валу; 31 — грязеуловитель; 33- трубка для смазывания зубчатых колес; 34 — канавки на шейке распределительного вала; 35 — зубчатое колесо распределительного вала; 36 — зубчатое колесо коленчатого вала.
Система смазки: 1 — масляный радиатор; 2 — кран масляного радиатора; 3 -предохранительный клапан; 4 — ось коромысел; 5 — стойка оси коромысел; 6 — канал в головке блока цилиндров; 7 – масляный канал в блоке цилиндров; 8 — центрифуга; 9 — штанга; 10 — толкатель; 11 — главная масляная магистраль; 12 – отверстие в корпусе распределителя; 13 — полость; 14 — маслопровод к центрифуге; 15 и 16 — верхняя и нижняя секции масляного насоса; 17 и 18 — маслоприемник; 19 — поддон; 20 — маслопровод для слива масла из радиатора, 21 — редукционные клапаны, 22 — вторая шейка распределительного нала; 23 — четвертая шейка распределительного вала.
Система смазки двигателя. Общее устройство и принцип действия
Видео: Система смазки двигателя внутреннего сгорания (ДВС) в 3D. Как работает система смазки?
Назначение системы смазки заключается в снижении трения сопряженных деталей двигателя. Кроме того система смазки выполняет и побочные функции — понижает температуру деталей двигателя, удаляет продукты износа и нагара, защищает детали двигателя от коррозии.
Общее устройство
В систему смазки двигателя входят:
- поддон картера с маслозаборником
- масляный насос
- масляный радиатор
- масляный фильтр
- соединительные магистрали и каналы
Рис. Схема системы смазки двигателя: 1 — масляный поддон; 2 — датчик уровня и температуры масла; 3 — масляный насос; 4 — редукционный клапан; 5 — масляный радиатор; 6 — масляный фильтр; 7 — перепускной клапан; 8 — обратный клапан; 9 — датчик давления масла; 10 — коленчатый вал; 11 — форсунки; 12 — распределительный вал выпускных клапанов; 13 — распределительный вал впускных клапанов; 14 — вакуумный насос; 15 — турбонагнетатель; 16 — стекание масла; 17 — сетчатый фильтр; 18 — дроссель.
Предназначением поддона картера двигателя является хранения масла. Проконтролировать уровень масла в поддоне можно используя щуп, а также датчик уровня и температуры масла.
Масляный насос служит для закачки масла в систему. В действие он приводится коленчатым, распределительным или дополнительным приводным валом. Самыми распространенными являются масляные насосы шестеренного типа.
Рис. Односекционный шестеренный масляный насос со встроенным редукционным клапаном:
1 — впускная полость; 2 — нагнетательная полость; 3 — редукционный клапан
От продуктов нагара и износа масло очищается масляным фильтром. Очищение моторного масла достигается фильтрующим элементом, замену которого рекомендуется производить одновременно с заменой масла.
Охлаждение и нагрев моторного масла производит масляный радиатор. Через масляный радиатор пропускается охлаждающая жидкость, которая нагревает масло в холодном двигателе и охлаждает его, когда двигатель горячий. Масло в двигателе должно иметь температуру выше 100°С чтобы из него выпаривалась остаточная вода, но его температура не должна превосходить границу в диапазоне от от 138°С до 148°С.
Давление масла в системе контролируют датчики установленные в масляной магистрали. Датчик направляет сигнал к лампе на приборной панели. Также информация о давлении может поступать в систему управления двигателем. При снижении давления сверх нормы, система управления должна остановить двигатель.
Современные двигатели могут иметь датчики уровня и температуры масла. Поступающая от них информация также отображается на приборной панели.
Постоянное рабочее давление в системе смазки поддерживается с помощью одного или нескольких редукционных (перепускных) клапанов, которые устанавливают в масляных насосе и фильтре.
Принцип действия системы смазки двигателя
Самой распространенной системой смазки двигателей в настоящее время является комбинированная. В такой системе одни детали смазываются под давлением, а другие – самотеком или разбрызгиванием.
Двигатель смазывается циклически. После его запуска, масло закачивается в систему масляным насосом. Насос создает необходимое давление и подает масло в масляный фильтр, в котором происходит его очистка от механических примесей. Далее масло по каналам подается к:
- шатунным шейкам коленчатого вала
- коренным шейкам коленчатого вала
- опорам распределительного вала
- верхней опоре шатуна для смазки поршневого пальца
К рабочей поверхности цилиндра масло поступает из отверстий в нижней опоре шатуна или от специальных форсунок.
Другие части двигателя смазываются разбрызгиванием, т.е. часть масла вытекающего из зазоров в соединениях разбрызгивается подвижными частями КШМ и ГРМ. При разбрызгивании масла создается масляный туман, который при оседании смазывает детали двигателя.
Масло стекает в поддон картера двигателя под действием силы тяжести, после чего цикл смазки повторяется.
Также в некоторых автомобилях применяется система смазки с сухим картером. В такой системе основной запас масла содержится в автономном масляном баке, откуда подается в главную масляную магистраль двигателя нагнетающей секцией масляного насоса. Такие системы обеспечивают бесперебойный подвод масла к трущимся деталям двигателя на длительных крутых подъемах, спусках и при кренах без какого-либо масляного голодания и утечек масла через сальники коленчатого вала. Кроме того, применение системы с сухим картером позволяет уменьшить высоту двигателя, снизить расход масла и сохранять его физико-химические свойства в течение более длительного периода благодаря возможности удаления из масла картерных газов.
Рис. Типичная схема смазочной системы двигателя с сухим картером:
1 — масляная центрифуга; 2 — двигатель; 3 — полнопоточный фильтр грубой очистки; 4 — масляный радиатор; 5 — перепускной клапан; 6 — масляный бак; 7 — змеевик для подогрева масла; 8 — предпусковой маслозакачивающий насос; 9 — маслопрцемный сетчатый фильтр; 10, 11 — нагнетающая и откачивающая секции основного масляного насоса
Устройство системы смазки двигателей ГАЗ-69, ГАЗ-69А, ГАЗ-63 и ГАЗ-51А, ЗИЛ-157К, ЗИЛ-157 и ЗИЛ-151, ЗИЛ-164А, ЗИЛ-164 и ЗИЛ-150, ЯАЗ-М-206Б
Ознакомиться с особенностями устройства двигателей отечественных автомобилей ГАЗ, ЗИЛ, УРАЛ И ЯАЗ можно в следующей записи.
Система смазки двигателя ВАЗ
Система смазки двигателя ВАЗ — комбинированная, т.е. смазывание происходит одновременно двумя способами: под давлением и разбрызгиванием. При температуре масла 85 °С и частоте вращения коленвала 5600 мин-1, давление в системе смазки составляет от 3,5 до 4,5 кгс/см2. При минимальной частоте вращения коленчатого вала (от 850 до 900 мин-1) минимальное давление должно составлять не менее 0,5 кгс/см2. Вместимость системы смазки, включая масло в масляном фильтре, составляет 3,75 л.
Рис. Схема системы смазки двигателя ВАЗ:
1 — масляный насос; 2 — масляный картер: 3 — канал подачи масла от насоса к фильтру; 4 — горизонтальный канал для подачи масла от фильтра в масляную магистраль; 5 — канал для подачи масла к шестерне привода масляного насоса и распределителя зажигания; 6 — канал в шейке коленчатого вала; 7 — передний сальник коленчатого вала; 8 — канал подачи масла от масляной магистрали к коренному подшипнику и к валику привода масляного насоса и распределителя зажигания; 9 — шестерня привода масляного насоса и распределителя зажигания; 10 — валик привода масляного насоса и распределителя зажигания; 11 — канал для стока масла; 12 — канал в кулачке распределительного вала; 13 — магистральный канал в распределительном валу; 14 — канал в опорной шейке коленчатого вала; 15 — кольцевая выточка на средней опорной шейке распределительного вала; 16 — крышка маслоналивной горловины; 17 — наклонный канал с головке цилиндров; 18 — вертикальный канал в блоке цилиндров; 19 — масляная магистраль; 20 — датчики давления и контрольной лампы давление масла; 21 — канал подачи масла к коренному подшипнику; 22 — канал подачи масла от коренного подшипника к шатунному; 23 — указатель уровня масла; 24 — масляный фильтр; 25 — перепускной клапан масляного фильтра; 26 — противодренажный клапан
Подробней система смазки двигателя ВАЗ рассмотрена нами в следующей статье.















