Где находится масса на камазе 43118
В большинстве грузовых автомобилей и различных моделях автобусов ПАЗ используют специальное средство защиты батареи о неожиданного разряда, когда речь заходит о длительной стоянке транспортного средства. В качестве такого средства выступает дистанционная кнопка массы КАМАЗ. Стоит подробнее рассмотреть ее особенности, принцип работы и устройство.
Назначение и роль
Дополнительный выключатель массы способен выступить в качестве противоугонного средства. Кнопка не позволит злоумышленникам завести двигатель. Преимущество такого устройства в том, что при необходимости его можно спрятать.
Сегодня наибольшей популярностью пользуются дистанционные выключатели, постепенно вытесняющие устройства ручного типа. К преимуществам такой модификации относят:
- возможность управления кнопкой в кабине КАМАЗа;
- отсутствие необходимости в открытии аккумуляторного отсека или капота для проведения отключения или подключения массы;
- возможность скрытой установки устройства.
Отличительная особенность дистанционных моделей – несложная конструкция и понятный принцип действия.
Как устроена и работает кнопка?
Дистанционные кнопки КАМАЗ пользуются популярностью среди владельцев грузовых транспортных средств. У подобных выключателей упрощенное строение, а также высокий уровень надежности.
- корпус в форме цилиндра;
- якорь;
- пружинный фиксатор;
- контакт.
Корпус якоря слегка выходит за пределы катушки, если смотреть на его положение с внешней стороны. Положение элемента фиксирует специальная пружина цилиндрической формы, которая находится внутри корпуса. На верхнюю часть якоря надет колпачок из плотной резины, играющий роль кнопки. Нажатие на него приводит к смещению пружины и элементов, что позволяет привести в действие основную функцию устройства.
При нажатии на катушку подается электрический ток, что приводит к изменению положения якоря. Он втягивается внутрь и смещает контакт, на конце которого размещены специальные датчики. Впоследствии происходит замыкание контактов с помощью тарелки. Такая последовательность действий приводит к подключению аккумулятора к массе автомобиля.
Для отключения проводится такой же порядок действий:
- Ток подается на электромагнитную катушку.
- Якорь втягивается и смещает фиксатор.
- Фиксатор смещает контакт.
- Происходит отключение массы.
Таким образом, процесс включения и отключения массы достигается посредством небольшой кнопки. Ее конструкция обеспечивает своевременную подачу тока на электромагнит, за счет чего удается достичь требуемого эффекта.
Установка
Перед тем, как приступить к установке выключателя на автомобиль, необходимо правильно его выбрать. Для этого рекомендуется сначала обратить внимание на тип и модель транспортного средства. Также следует учесть такие параметры, как:
Для КАМАЗов и других габаритных автомобилей подходят кнопки массы с напряжением в 12В и током на 50А. Монтаж кнопки не представляет ничего сложного. Для ее установки потребуется:
- Провод отрицательной клеммы аккумулятора подключить к контакту кнопки.
- Свободный провод подсоединить к корпусу автобуса или двигателя. Для подключения рекомендуется использовать провода увеличенного сечения, чтобы обеспечить надежный поток больших токов.
- Подключить провод небольшого сечения к одному из силовых контактов, соединенному с минусовой клеммой.
- Вывести провод от второго контакта катушки к кнопке. Дополнительно следует предусмотреть установку предохранителя на 5А на цепь.
- Второй контакт кнопки подключить к плюсовой клемме любым проводом.
После этого можно приступать к эксплуатации транспортного средства. Для организации надежной работы устройства рекомендуется использовать кнопку без фиксации, способную после нажатия разомкнуть цепь, вернувшись в исходное положение.
На автомобилях с двигателями экологического класса 5 и 6 устанавливается электронный блок управления электрооборудованием (ЭБУ ЭО) (см. рис. Расположение предохранителей и реле с электронным блоком управления).
Расположение предохранителей и реле с электронным блоком управления
1 — Реле за панелью выключателей; 2 — блок предохранителей (F3, F7, F6); 3 — электронный блок управления электрооборудованием; 4 — предохранитель F1, 5 — реле звукового сигнала; 6 — реле включения фары сцепки; 7 – реле стартера; 8 – реле сигнализатора.
Реле за панелью выключателей
Реле за панелью выключателей для автомобилей с двигателями экологического класса 5
1 — Реле ЭФУ (для отдельных комплектаций); 2 — реле ЭФУ (для отдельных комплектаций); 3 — реле торможения; 4 — реле подогрева топлива; 5 — реле включения приборов и стартера; 6 — реле включения аккумуляторной батареи; 7 — реле управления питанием после замка выключателя приборов и стартера; 8 — реле розетки 12 В; 9 — реле останова стеклоочистителя; 10 — реле отключения радиоприёмника
Реле за панелью выключателей для автомобилей с двигателями экологического класса 6
1 — Реле сцепления; 2 — реле блокировки стартера; 3 — реле питания насоса; 4 — реле подогреваемой линии к форсунке; 5 — реле подогреваемой линии от насоса в бак; 6 — реле подогрева топлива; 7 — реле включения приборов и стартера; 8 — реле включения аккумуляторной батареи; 9 — реле управления питанием после замка выключателя приборов и стартера; 10 — реле розетки 12 В; 11 – реле подогреваемой линии от бака в насос; 12 — реле отключения радиоприёмника; 13 — реле останова стеклоочистителя; 14 — реле отопителя
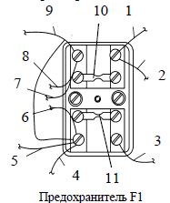
Предохранитель F1
Предохранитель F1
1 – Питание; 2 — радиооборудование; 3 – жгут проводов цепи ЭФУ; 4 – на блок предохранителей F2; 5 – кабель осушителя; 6 – выключатель приборов и стартера; 7 – реле стартера; 8 – на блок предохранителя F3 после выключателя приборов и стартера; 9 — на блок предохранителя F3 до выключателя приборов и стартера; 10 – предохранитель 60 А; 11 – предохранитель 30 А
Предохранитель F5
Предохранитель F5 установлен на панели передка кабины.
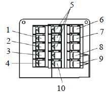
1 – Реле за панелью выключателей; 2 — блок предохранителей (F2, F3, F4, F6); 3 – блок реле; 4 — предохранитель F1; 5 – реле стартера; 6 – реле сигнализатора; 7 – реле стеклоочистителя; 8 – реле-прерыватель указателей поворота.
Реле за панелью выключателей
1, 2, 3, 4 — См. в Таблице применяемых реле; 5- реле подогрева топлива; 6 — реле ЭФУ; 7 — реле дневных ходовых огней; 8 — реле датчика останова платформы; 9 — реле заднего противотуманного фонаря; 10 — реле маслоотделителя
Таблица применяемых реле
| Поз. | Для двигателей Cummins | Для двигателей КАМАЗ |
|---|---|---|
| 1 | Реле АБС | |
| 2 | Реле блокировки стартера | Реле АБС |
| 3 | Реле торможения | |
| 4 | Реле сцепления | Реле вспомогательного тормоза |
Блок реле
Блок реле
1 – реле управления питанием после замка выключателя приборов и стартера; 2 — реле выключателя приборов и стартера; 3 – реле включения аккумуляторной батареи; 4 – реле сигналов торможения; 5 – реле заднего хода; 6 — реле звукового сигнала; 7 — реле ближнего света; 8 — реле дальнего света; 9 — реле задних противотуманных фар; 10 — реле противотуманных фар; 11 — реле габаритных огней
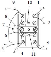
Предохранитель F1
Предохранитель F1
1 — Питание; 2 — радиооборудование; 3 — жгут проводов цепи ЭФУ; 4 — на блок предохранителей F2; 5 — кабель осушителя; 6 — выключатель приборов и стартера; 7 — реле стартера; 8 — на блок предохранителя F3 после выключателя приборов и стартера; 9 — на блок предохранителя F3 до выключателя приборов и стартера; 10 — предохранитель 60 А; 11 — предохранитель 30 А
Предохранитель F5
Предохранитель F5 установлен на панели передка кабины.
Фишку на кнопке массы, которая на ящике акб, проверь. Туда все говно с колеса летит, контакты ржавеют и окисляются
Массу которая около аккумуляторов стоит замени её. Скорей всего ей конец пришол. Либо кнопка с салона что наврятли.
Надо проверить приходит ли напряжение 24в на маленькие 2а проводка на выкл массы,( пусть кто-то нажмёт на кнопку в кабине) , и проверить
Лучшие 3 двигателя КамАЗ Cummins/Камминз: система охлаждения, коды ошибок, отзывы
КамАЗ на двигателе Cummins: устройство силового агрегата включает в себя следующие системы и элементы:
- блок цилиндров;
- головки цилиндрического блока;
- распределительный вал, оснащенный приводом цепного вида;
- форсунки, которые управляются при помощи электромагнитных клапанов;
- система турбонаддува, которая оснащена турбинами различных моделей;
- система охлаждения замкнутого типа и топливная система Bosch.
Каждая модификация мотора от данного производителя оснащена современной электронной системой управления и контроля за рабочим состоянием двигателя.
Система охлаждения
Система охлаждения – важный элемент, делающий возможной исправную работу двигателя, позволяя продлить срок эксплуатации. Она представляет собой закрытую жидкостную систему, внутри которой циркулирует охлаждающая жидкость.
Работа охладительной системы автоматически регулируется двумя термостатами, которые определяют температуру жидкости на выходе из двигателя (в норме 75-95 °С), и в зависимости от этого показателя меняют направление потока жидкости.
Когда тепло было поглощено жидкостью, она направляется по трубкам дальше, где ее температура понижается с помощью потоков воздуха.
Именно такой принцип работы у системы охлаждения двигателей Камминз серии ISBe.
КамАЗ 65115 с двигателем Камминз и КамАЗ Cummins 4308 являются представителями серии ISBe.
Для исправной работы системы охлаждения рекомендуется проводить регулярную диагностику. Частой поломкой является износ ремня вентилятора, а также шкивов.
Система охлаждения двигателя включает в себя такие детали, как:
- Труба перепускного типа, которая ведет от радиатора к расширительному баку.
- Соединительная труба, которая ведет от компрессорного механизма к бачку.
- Водосборные трубы.
- Водяная соединительная трубка.
- Перепускная труба для термостатов.
- Водяной насосный элемент.
- Колено отводящего патрубка.
- Вентилятор.
- Экран системы слива.
- Подводящая труба для правого ряда цилиндрических элементов.
- Включатель гидравлической муфты.
- Коробка термостатов.
- Паровоздушная пробка.
Блок управления
Такой блок используется для управления цикловой подачей топливной жидкости. Конструкция данного устройства состоит из:
- инжектора;
- топливного аккумулятора высокого давления;
- датчика расположения кулачкового вала;
- жгута механизма управления мотором;
- датчика температуры охлаждающей жидкости;
- датчика температуры и давления масляной жидкости;
- индикатора положения кулачкового вала;
- топливного насоса высокого давления;
- индикатора температуры и давления топливной жидкости;
- жгута силовой системы управления.
Отзывы об использовании двигателей
Автомобили, укомплектованные силовыми агрегатами Cummins, получили широкое распространение в отечественных перевозках. Эксплуатация автомашин с двигателями «Камминз», по отзывам водителей и автовладельцев, характеризуется следующими положительными моментами:
- снижение эксплуатационных расходов на горюче-смазочные материалы;
- уменьшение финансовых затрат за счет сокращения числа проведение плановых технических обслуживаний мотора;
- сокращение времени доставки грузов;
- снижение затрат на выполнение возможных ремонтов в связи с надежностью;
- улучшенный запуск особенно в зимний период;
- доступность запчастей при необходимости проведения ремонтных работ.
Использование автомобилей с двигателем «Камминз» приносит немало преимуществ. Для этого необходимо выполнять правила эксплуатации дизеля, соблюдать полноту и периодичность технического обслуживания, применять расходные и эксплуатационные материалы, рекомендованные компанией-производителем.
ТОП-3 двигателя Cummins: технические характеристики
Технические характеристики двигателей на КамАЗ от фирмы Cummins:
| Количество цилиндров | От 4 до 18 |
| Расположение цилиндрических элементов | В 1 ряд или V-образное |
| Рабочий объем, л | От 2,2 до 7,8 |
| Расположение распределительного вала | Верхнее или нижнее |
| Мощность двигателя | От 109 лошадиных сил |
| Тип используемого топлива | Дизель |
| Система электронного впрыска топливной жидкости | Есть |
| Диаметр цилиндров, см | 12 |
| Ход поршней, см | 13 |
| Международный экологический стандарт | Евро 3, 4, 5 |
| Максимальный крутящий момент, Нм | 2200 |
| Масса, кг | От 11300 |
Технические показатели двигателя Камминз 4ISBe-185:
| Количество цилиндров | 4 |
| Электронная система управления | Есть |
| Топливная система | Bosh |
| Мощность | 185 лошадиных сил |
| Рабочий объем, л | 4,5 |
| Ход поршня, см | 12 |
| Диаметр цилиндрических элементов, см | 12 |
| Промежуточная система охлаждения воздушного потока | Есть |
| Наибольший крутящий момент, Нм | 686 |
| Частота вращения коленчатого вала | 1400 оборотов в минуту |
| Экологический класс | Евро-3 |
| Диаметр поршневой части, см | 10,2 |
| Расположение цилиндров | Рядное, верхнее |
| Масса, кг | 600 |
| Габариты, см | 100*96*90 |
Технические параметры модификации ISLe:
| Система охлаждения топливной жидкости | Common Rail |
| Количество цилиндров | 6 |
| Расположение цилиндрических элементов | Рядное |
| Мощность | 285 лошадиных сил |
| Электронная система впрыска топливной жидкости | Есть |
| Максимальный крутящий момент, Нм | 700 |
| Срок службы топливного фильтра | 500 ч |
| Турбокомпрессор | Holset |
| Рабочий объем двигателя, л | 6,7 |
| Масса, кг | 475 |
| Зазор для впускного клапана, мм | 0,254 |
| Зазор для выпускного клапана, мм | 0,508 |
| Диаметр цилиндров, см | 12 |
| Ход поршня, см | 13 |
| Параметры, см | 77,7*63,2*95,8 |
ISX15
Технические характеристики модели ISX15:
| Количество цилиндров | 6 |
| Электронная система управления | Есть |
| Топливная система | Bosch |
| Мощность | 600 лошадиных сил |
| Рабочий объем, л | 15 |
| Ход поршня, см | 13 |
| Диаметр цилиндрических элементов, см | 12 |
| Промежуточная система охлаждения воздушного потока | Есть |
| Наибольший крутящий момент, Нм | 2508 |
| Частота вращения коленчатого вала | 1800 |
| Экологический класс | Евро-3 |
| Диаметр поршневой части, см | 12 |
| Расположение цилиндров | Рядное |
| Давление системы, отвечающей за впрыск топлива | 2000 бар |
| Масса, кг | 11000 |
| Габариты, см | 99*70*77 |
Регулировка клапанов Cummins 6ISBe и метки.
Мы рекомендуем не реже чем один раз в 150 000 км проводить регулировку клапанов. В процессе эксплуатации зазоры клапанов увеличиваются, что может привести к металлическому стуку в двигателе, повышенному расходу топлива и потере тяги. Со временем клапана могут «достучаться» до поршня или разбить седла и направляющие головки блока цилиндров.
Для регулировки клапанов проворачиваем коленчатый вал до того момента как коромысла впускных и выпускных клапанов первого цилиндра «освободятся».
Далее на каждом из коромысел есть регулировочный винт с контргайкой. Ослабляем эту контргайку и немного выкручиваем регулировочный винт. С другой стороны коромысла есть маленький такой бочёнок- *пятак*, который нажимает на крейцкопф (малое коромысло клапанов).
Берём щуп и вставляем его между этим пятаком и крейцкопфом (малым коромыслом). Вкручиваете регулировочный винт и затягиваете контргайку. И так на всех цилиндрах. Зазор на впуске 0,25 на выпуске 0,5
Метки: скошенный зуб на шестерне коленвала и точка на шестерне распредвала.
Неисправности и ремонт
Ремонт двигателя от этого производителя можно выполнить своими руками. Основные неисправности:
- Двигатель запускается, но сам процесс запуска сопровождается дымом. Это может быть результатом наличия воздуха в топливной системе. Необходимо прокачать топливный механизм, проверить герметичность всасывающего клапана.
- Пониженный уровень давления в системе силового агрегата. Такая неисправность может быть вызвана повреждением масляного фильтра. Рекомендуется проверить работоспособность манометра.
- Температура охлаждающей жидкости превышает норму. Причиной поломки может стать деформированный шланг радиатора. Следует осмотреть шланг на наличие повреждений и при необходимости заменить его.
Коды ошибок
Коды ошибок двигателей, изготовленных по стандартам Евро-4 и 5:
- 111 (красный цвет) — проблема связана с блоком управления, тип ошибки — критический.
- 112 (красный) — датчик синхронизации впрыска перестал отвечать.
- 113 (желтый) — короткое замыкание в системе впрыска топлива.
- 114 (желтый) — обрыв цепи.
- 115 (красный) — отсутствуют сигналы с датчика оборотов и положения коленчатого вала.
- 116 (красный) — короткое замыкание в цепи впрыска топливной жидкости.
- 117 (красный) — обрыв цепи датчика давления.
Полный перечень кодов приведен в руководстве по ремонту двигателя.
Если не заводится
Если каменский двигатель не заводится, то причиной может быть:
- Повышенное сопротивление провороту коленвала. В этом случае рекомендуется провернуть коленчатый вал вручную.
- Ослабленные контакты пусковой цепи. Необходимо проверить и затянуть все крепежные элементы.
- Разряженная аккумуляторная батарея. Нужно проверить напряжение батареи.
- Обрыв контакта в цепи системы запуска мотора. В этом случае нужно проверить уровень напряжения на клемме оттягивающего реле стартера.
- Двигатель находится в зацеплении с приводами. Следует отключить все агрегаты.
Замена мотора
Для того чтобы заменить мотор Каменс, нужно:
- Снять облицовочную часть кабины.
- Демонтировать радиатор и интеркулер.
- Вывернуть передний рым-болт.
- Убрать регулировочные винты.
- Отвернуть болты с шайбами от крепления корпуса заднего подшипника.
- Демонтировать шестерню.
- Снять болты с крепления блока цилиндров.
- Убрать уплотнительное кольцо.
- Снять штанги толкательных элементов.
- Вытащить вал привода гидравлической муфты.
- Убрать замковые пластины.
- Повернуть коленвал так, чтобы шейка цилиндров находилась в нижней мертвой точке.
- Демонтировать двигатель.
- Установить новый силовой агрегат, повторяя все действия в обратной последовательности.
Чрезмерные нагрузки и перегруз.
Чрезмерные нагрузки и перегруз двигателя ни к чему хорошему не приводят. Самое распространенное последствие этого ― проворот коленчатаго вала и задиры на вкладышах и коренных шейках.
В случае появления задиров на шейках коленвала, очень часто эту проблему можно исправить шлифовкой шеек и установкой ремонтных вкладышей. У данных коленвалов существуют вкладыши +0,25 и +0,5 ремонтного размера.
Серия Cummins ISF
Серия силовых установок ISF пользуется наибольшей популярностью в нашем регионе, поскольку доступна широкому кругу пользователей. Она представлена 4-х цилиндровыми дизельными моторами, объёмом 2,8 и 3,8 литра. Меньший мотор устанавливают на «Газели», больший на «Валдай». Конструктивно агрегаты полностью идентичны, взаимозаменяемость деталей составляет 70%, разница в литраже, только за счёт размеров установок.
Датчики двигателя Камминз Камаз
Двигатель выполняет свою функцию стопроцентно, если прочие системы работают также слаженно, безотказно. Поэтому зачастую, когда отказывает какая-то индикация, водители нередко говорят, что скорее всего отказал датчик. Именно эти небольшие компоненты играют большую роль в становлении работы целого тягача. Разберемся более подробно, какие виды входят в состав мотора Камминз.
- ДПК — положения коленвала — установлен в районе шкива. Овнован на эффекте Холла, определяет положение коленвала, преобразуя полученные данные в прямоугольные сигналы. Электронный блок улавливает сигналы, преобразует в информацию о частоте вращения, корректируя момент начала открытия форсунок, продолжительность открытия, угол впрыска топливной системы.
- ДПР — положения распредвала — расположен внутри головки блока цилиндра, определяет момент прихода поршня первого цилиндра в верхнюю точку на такте сжатия. Данным образом регламентируется очередность впрыска топлива по отдельным блокам. Принцип работы также определен правилом Холла.
- Давления наддува/температуры воздуха. Устанавливается на впускном коллекторе, является датчиком пьезорезистивного типа. Турбокомпенсатор создает давление наддува, вырабатывая входной сигнал на блок управления. Внутри датчика наддува встроен аналогичный, заменяющий температуру наддувочного воздуха.
- Давления топливного коллектора — устанавливается на топливном аккумуляторе, измеряет мгновенные значения давления топлива аккумулятора быстро, точно. Через отверстие аккумулятора топливо попадает внутрь, попадая на канал датчика, закрытый диафрагмой. Чувствительная диафрагма преобразует давление в электрический импульс, подаваемый общей системе. Электронный блок анализирует этот и другие подаваемые сигналы. Корректируя подачу топлива.
- Температуры охлаждающей жидкости. Очень важное устройство, косвенно защищающее мотор от перегрева. Принимаемые данные отображаются на приборной панели, оповещая водителя о подъеме температуры. Лучший показатель охлаждающей жидкости — середина уровня, ниже — недостаточный подогрев, выше — возможный перегрев системы, которые может привести к поломке двигателя. Установлен внутри корпуса термостата. Представляет собой терморезистор, уменьшающий сопротивление по мере возрастания температуры. Электронный блок оценивает уровень напряжения сигнала, генерируя соответствующие данные.
- Положения педали акселератора — определяет уровень нажатия водителем педали. Выглядит как два потенциометра, имеющих независимые цепи, соответственно, оснащен двумя каналами. Сопротивление резисторов меняется пропорционально степени нажатия. Данным образом происходит корректировка подачи топлива.
- Аварийного давления масла — релейный компонент, замыкающий контакты при падении давления масла внутри системы смазки двигателя меньше необходимого уровня.
- Атмосферного давления — определяет текущее атмосферное давление внутри блока двигателя. Необходим для правильной работы на разных уровнях (относительно уровня моря). Наиболее ценным данный механизм является для тягачей, работающий на карьерах, серпантинах, горных районах. Помимо сильного напряжений, испытываемого из-за подъемов-спусков, двигатель испытывает сложности ввиду разницы давления.
Перечисленные средства индикации позволяют электронному блоку питания настроить двигатель максимально оптимальным для работы способом. Большинство современных автомобилей, работающих на электронных компонентах, оснащены большим количество подобных определителей. С одной стороны, считается, что большое количество электроники, некие «мозги» автомобиля, усложняют ремонтные работы, диагностику, однако именно данные системы позволяют сделать работу мотора более тихой, экономичной, экологически чистой.
Датчики двигателя Камминз Камаз
Двигатель выполняет свою функцию стопроцентно, если прочие системы работают также слаженно, безотказно. Поэтому зачастую, когда отказывает какая-то индикация, водители нередко говорят, что скорее всего отказал датчик. Именно эти небольшие компоненты играют большую роль в становлении работы целого тягача. Разберемся более подробно, какие виды входят в состав мотора Камминз.
- ДПК — положения коленвала — установлен в районе шкива. Овнован на эффекте Холла, определяет положение коленвала, преобразуя полученные данные в прямоугольные сигналы. Электронный блок улавливает сигналы, преобразует в информацию о частоте вращения, корректируя момент начала открытия форсунок, продолжительность открытия, угол впрыска топливной системы.
- ДПР — положения распредвала — расположен внутри головки блока цилиндра, определяет момент прихода поршня первого цилиндра в верхнюю точку на такте сжатия. Данным образом регламентируется очередность впрыска топлива по отдельным блокам. Принцип работы также определен правилом Холла.
- Давления наддува/температуры воздуха. Устанавливается на впускном коллекторе, является датчиком пьезорезистивного типа. Турбокомпенсатор создает давление наддува, вырабатывая входной сигнал на блок управления. Внутри датчика наддува встроен аналогичный, заменяющий температуру наддувочного воздуха.
- Давления топливного коллектора — устанавливается на топливном аккумуляторе, измеряет мгновенные значения давления топлива аккумулятора быстро, точно. Через отверстие аккумулятора топливо попадает внутрь, попадая на канал датчика, закрытый диафрагмой. Чувствительная диафрагма преобразует давление в электрический импульс, подаваемый общей системе. Электронный блок анализирует этот и другие подаваемые сигналы. Корректируя подачу топлива.
- Температуры охлаждающей жидкости. Очень важное устройство, косвенно защищающее мотор от перегрева. Принимаемые данные отображаются на приборной панели, оповещая водителя о подъеме температуры. Лучший показатель охлаждающей жидкости — середина уровня, ниже — недостаточный подогрев, выше — возможный перегрев системы, которые может привести к поломке двигателя. Установлен внутри корпуса термостата. Представляет собой терморезистор, уменьшающий сопротивление по мере возрастания температуры. Электронный блок оценивает уровень напряжения сигнала, генерируя соответствующие данные.
- Положения педали акселератора — определяет уровень нажатия водителем педали. Выглядит как два потенциометра, имеющих независимые цепи, соответственно, оснащен двумя каналами. Сопротивление резисторов меняется пропорционально степени нажатия. Данным образом происходит корректировка подачи топлива.
- Аварийного давления масла — релейный компонент, замыкающий контакты при падении давления масла внутри системы смазки двигателя меньше необходимого уровня.
- Атмосферного давления — определяет текущее атмосферное давление внутри блока двигателя. Необходим для правильной работы на разных уровнях (относительно уровня моря). Наиболее ценным данный механизм является для тягачей, работающий на карьерах, серпантинах, горных районах. Помимо сильного напряжений, испытываемого из-за подъемов-спусков, двигатель испытывает сложности ввиду разницы давления.
Перечисленные средства индикации позволяют электронному блоку питания настроить двигатель максимально оптимальным для работы способом. Большинство современных автомобилей, работающих на электронных компонентах, оснащены большим количество подобных определителей. С одной стороны, считается, что большое количество электроники, некие «мозги» автомобиля, усложняют ремонтные работы, диагностику, однако именно данные системы позволяют сделать работу мотора более тихой, экономичной, экологически чистой.
Наплевали на санкции: как «КАМАЗ» смог сохранить производство двигателей и что там сейчас собирают
За прошедший год из России после введения западных санкций ушли около трех десятков международных компаний-производителей автомобилей и компонентов. По этой причине наши автозаводы остались без налаженных технологических связей и, казалось бы, без перспектив в развитии. Какова нынешняя ситуация с двигателями у Камского автозавода?
ПРИРОСТ МОЩНОСТИ
Благодаря сотрудничеству с Cummins автозавод получил двигатели семейства ISB, рядные «четверки» и «шестерки» объемом чуть больше литра в пересчете на один цилиндр.
К рубежу 2020–2021 годов Камский автозавод подошел с небывало широкой линейкой двигателей. В его распоряжении есть современные дизельные моторы объемом от 4,5 до 12 л, мощностью от 140 до 550 л. с. и крутящим моментом от 550 до 2500 Нм. Такой выбор двигателей позволяет не только работать в сегменте среднетоннажников, но и успешно развивать производство тяжелых грузовиков. Здесь, конечно, большим подспорьем стало создание в 2006 году совместного предприятия «Камминз КАМА». Благодаря сотрудничеству с Cummins автозавод получил двигатели семейства ISB, рядные «четверки» и «шестерки» объемом чуть больше литра в пересчете на один цилиндр. Эти 4,5‑ и 6,7‑литровые моторы с диапазоном мощности от 140 до 310 л. с. оптимальны не только для среднетоннажников. Двигатели Cummins ISB6.7 удачно дополнили традиционные «восьмерки» на самосвалах КАМАЗ-65115, бортовых КАМАЗ-65117 и шасси КАМАЗ-65116. В разные годы, в зависимости от модели, моторами ISB6.7 оснащалось от 70 до 90 % выпуска этих грузовиков. Кроме того, моторы серии Cummins ISB успешно применялись и применяются на автобусах НефАЗ, ЛиАЗ, ПАЗ и КАвЗ. В 2017 году на «Камминз КАМА» в дополнение к двигателям семейства ISB начата сборка моторов Cummins ISL объемом 8,9 л, мощностью от 300 до 400 л. с., в зависимости от надстроек. Для сравнения: мощность V-образной «шестерки» ЯМЗ-642 объемом 8,14 л составляет всего 160 л. с. Характеристики Cummins ISL 8.9, достигнутые благодаря турбонаддуву, позволяют успешно использовать эти моторы на грузовиках тяжелого семейства КАМАЗ-6520.
Числится в активе КАМАЗа и абсолютно импортный, без малейшего намека на локализацию мотор Mercedes-Benz OM457 — рядная «шестерка» объемом 11,97 литра с настройками 401 л. с. и 428 л. с. Эти дизели собирают в Германии, на моторном заводе Daimler AG в Мангейме. Применяемость в России — на седельных тягачах КАМАЗ-5490, это флагман поколения К4. Кроме того, OM457 стал основным мотором для самосвалов КАМАЗ-6580 с колесной формулой 6х4. Оснащение КАМАЗ-5490 двигателем OM457 сразу же сформировало высокий статус новой модели челнинских тягачей. Приобретая этот магистральный тягач, наши перевозчики получали не только комфортную кабину Mercedes Axor, но и «мерседесовский» мотор. Все же Daimler — неоспоримый авторитет в производстве дизелей. Силовой агрегат экономичный, а заявленный ресурс у ОМ457 в 1 млн км не является предельным для этих двигателей. Благодаря применению мотора ОМ457 межсервисный пробег на КАМАЗах вырос до 80 тыс. км. Надо отдать должное: без этого немецкого дизеля КАМАЗу не удалось бы так стремительно отвоевать у европейских производителей свою нишу на рынке магистральных тягачей.
Гордость Камского автозавода — рядная «шестерка» КАМАЗ-910, развивающая мощность от 380 до 550 л. с. и крутящий момент от 1700 до 2540 Нм.
Однако не стоит сбрасывать со счетов и V-образные камазовские моторы. К примеру, один из лучших для строительных грузовиков — двигатель КАМАЗ-740 семидесятой серии, то есть, допустим, модель КАМАЗ-740.73‑400 мощностью 400 л. с. Вообще у этих моторов диапазон мощности от 280 до 440 л. с., крутящий момент от 1177 до 2060 Нм. Двигатели этого семейства ставят на самосвал КАМАЗ-65201 с колесной формулой 8х4, на полноприводной трехосный самосвал КАМАЗ-65802, а также на КАМАЗ-6460, КАМАЗ-6360 и другие модели. Это все «длинноходные» 12‑литровые «восьмерки», в том числе и КАМАЗ-740 серии 50. Эксплуатационники давно заметили, что они надежнее «восьмерок» прежних поколений, имеют ресурс свыше 800 тыс. км, при этом легко и понятно ремонтируются.
Самыми устойчивыми к антироссийским санкциям являются камские V-образные моторы.
И наконец, флагманский двигатель, гордость Камского автозавода — рядная «шестерка» КАМАЗ-910. Запуск производства нового мотора стал не менее значимым событием в жизни автозавода, чем запуск производства «даймлеровских» кабин для КАМАЗ-54901 К5. Двигатель разрабатывался совместно с компанией Liebherr, с использованием опыта конструирования и производства 12‑литрового дизеля D946, который стоит на конвейере германо-швейцарской компании с 2012 года. Но сейчас это действительно отечественный мотор, практически сразу же получивший важнейшие детали и узлы, сделанные в России.
Бывшее СП «Федерал Могул Набережные Челны», выпускающее детали цилиндро-поршневой группы, теперь полностью принадлежит КАМАЗу.
Если два челнинских шестицилиндровых Cummins семейств ISB и ISL закрывают потребность в моторах с диапазоном мощности от 210 до 400 л. с., то КАМАЗ-910 развивает от 380 до 550 л. с. и от 1700 до 2540 Нм. На основе КАМАЗ-910 создан и весьма перспективный мотор КАМАЗ-920, который при том же объеме выдает вообще 700–750 л. с. Такой прирост мощности обеспечивает оснащение двухступенчатым турбонаддувом, традиционный интеркулер дополнен жидкостным теплообменником; конечно же, внесены определенные изменения и в топливную систему. Точный рабочий объем — 11,95 л, диаметр цилиндра и ход поршня 130 и 150 мм соответственно, то есть ПАО «КАМАЗ» отходит от привычного диаметра поршня в 120 мм. Готовятся к запуску в производство 13‑литровые «шестерки» на основе КАМАЗ-910, там коленвал с увеличенным ходом поршня и новая турбина. Мощность, скорее всего, не будет превышать 550 л. с., но увеличится крутящий момент и улучшится экономичность.
САНКЦИОННО УСТОЙЧИВЫ
Самыми устойчивыми к западным санкциям являются камские V-образные моторы. Там все свое, родное. Даже если и перестанут поставлять какую-то импортную деталь или узел двигателя, то на соседнем стеллаже сборочной линии КАМАЗа всегда лежит отечественная. А самый незащищенный от санкций мотор — упомянутый Mercedes-Benz OM457.
У каждого камазовского дизеля есть своя ниша, свой покупатель.
Помнится, лет 15 назад в Интернете волной шла эмоциональная критика челнинских двигателей V8. Основные тезисы: мотор старый, «дохлый» по мощности, завод ничего путного сделать не может… Когда появились моторы Cummins и Mercedes-Benz, а потом новая рядная «шестерка» КАМАЗ-910, вся критика стихла. Выяснилось, что у каждого дизеля есть своя ниша, свой покупатель. Все получилось в соответствии с планами развития автозавода. А сейчас нам вообще остается только радоваться, что не поторопились, не свернули выпуск «восьмерок» и свое производство коробок передач. Между тем еще в 2015 году были проведены испытания опытных образцов двигателей V8 КАМАЗ-750, шла работа по их сертификации и производству опытно-промышленной партии. Здесь вообще были учтены все проблемы камазовских «восьмерок». В первую очередь, на КАМАЗ-750 нет раздельных для каждого цилиндра головок блока. Здесь головки единые на каждый ряд, чугунные, с четырьмя клапанами на цилиндр. Изменена схема крепления головок, модернизирован блок цилиндров. То есть у мотора хорошее наполнение цилиндров свежим зарядом воздуха, соответственно, можно обеспечить хорошую мощность. Планировалось несколько настроек по мощности — от 360 до 500 л. с. Причем мотор оставался 12‑литровым, хотя понятно, что вполне реальна была бы и 13‑литровая версия. Дело уже шло к постановке КАМАЗ-750 на конвейер, но проект остановили. Отказаться от дальнейшей его реализации заставило начало разработки своей рядной «шестерки» КАМАЗ-910. Впрочем, вернуться к V8, дополнить им выпуск КАМАЗ-740 70‑й серии, сделать на его основе газовые версии — вполне реально.
Самая болезненная ситуация для КАМАЗа по двигателям ожидалась в связи с прекращением работы совместных предприятий «Камминз КАМА» и «Федерал Могул Набережные Челны». Но еще в ноябре 2022 года бывшие СП с американцами и немцами полностью перешли под российский контроль. «Сегодня все заводы с иностранным участием принадлежат ПАО «КАМАЗ», все работают. Мы не потеряли ни людей, ни технологий», — рассказал генеральный директор российского автогиганта Сергей Когогин в интервью газете «Вести КАМАЗа».
КАМАЗ серийно выпускает газовые моторы объемом 11,76 л.
Теперь «Камминз КАМА» называется «Кама Дизель», а моторы Cummins ISB6.7 переименовали в КАМАЗ-667. Соответственно Cummins ISL8.9 назван КАМАЗ-689. В целом семейство двигателей Cummins ISB было очень быстро локализовано, еще за несколько лет до введения санкций. Отливки блока, головки, коленвала, маховика — все было уже камазовским, без всякого импорта. По состоянию на лето 2021 года более 114 компонентов по Cummins ISB завод делал сам или получал от российских предприятий. Тем самым обеспечивалось более 60 % локализации по «шестерке». Сейчас уровень локализации стал более высоким. За последний год освоили еще 68 деталей. Но некоторые позиции все еще импортные, их закупают у других производителей Cummins ISB — в Китае, Бразилии, Индии. К производству компонентов по Cummins ISB привлекаются российские и белорусские предприятия. Важный момент: теперь, когда нет чрезмерно жесткой привязки к выпуску оригинального Cummins ISB, появилась возможность создания на основе этих моторов своих версий. Специалисты «Камминз КАМА» и ранее вносили полезные изменения: устанавливали заглушки водяной рубашки из нержавейки, нашли оптимальное расположение элементов ременного привода и т. п. Сейчас с «развязанными руками» вполне реально загильзовать блок «сухими», сменными гильзами, наладить выпуск двигателей увеличенного объема — около 7,5 л и мощностью под 360 л. с. Это — в перспективе.
Хуже ситуация с моторами Cummins ISL объемом 8,9 л. Под них работает своя сборочная линия, параллельная линии сборки Cummins ISB. Однако локализация этих моторов практически нулевая. Моторы Cummins серий L, ISL и QSL изготавливают в Великобритании, США, Бразилии, Индии, Китае. Это одни из самых распространенных дизелей в мире с годовым объемом производства более 150 тыс. единиц. В нынешних условиях очень сложно обеспечить их производство в Набережных Челнах. А жаль, моторы хорошие и мощностной диапазон очень подходит камским грузовикам. Впрочем, на флагманских настройках мощности Cummins ISL в 375–400 л. с. вполне можно заменить новым 12‑литровым КАМАЗ-910.
Линия сборки новых двигателей КАМАЗ-910 расположена на заводе моторов, там же, где собирают традиционные «восьмерки», а рядом, но за «ширмой», находится производство «Камминз КАМА». Все литье и вся обработка — «камазовские». Чугунный блок цилиндров «девятьсот десятого» еще на стадии подготовки к серийному выпуску, лет пять назад, уже сильно отличался от блока Liebherr D946. Наш блок получился округлым, с ажурными ребрами жесткости — красивый! Блок Liebherr — какой-то квадратный, угловатый… Головки блока КАМАЗ-910 тоже чугунные, раздельные, с четырьмя клапанами на цилиндр. Раздельные головки дешевле в производстве, и заводу не надо серьезно перестраивать обрабатывающие линии с головок «740» на «910». Крепление головки надежное — шестью болтами. Коленвал, маховик, поддон двигателя, картер сцепления также изготовлены в Набережных Челнах. Стартер унифицирован с V8, компрессор нижегородский с шильдиком Knorr-Bremse. До введения санкций импортными оставались распредвал, шатуны, турбокомпрессор, топливная аппаратура и еще некоторые детали. Но топливную аппаратуру типа Common Rail делают в Ярославле и Барнауле, с распредвалом и шатунами тоже больших проблем нет. Сейчас двигатель КАМАЗ-910 уже практически полностью отечественный. Время санкций пройдет, а КАМАЗ — останется…
БЕДЫ И ПОБЕДЫ
Давайте вспомним, с чем автостроители из Набережных Челнов заканчивали 1990‑е годы, с какими успехами или проблемами переходили в XXI век. Неизвестно, что больше нанесло урон КАМАЗу — развал СССР и рухнувшая экономика или пожар на заводе двигателей в 1993 году. А ведь эти беды наложились, суммировались…
До пожара моторный завод выпускал около 200 тыс. двигателей в год, но в огне погибли все сборочные и обрабатывающие линии. Приходилось думать не о развитии гаммы моторов, а о выживании автозавода. Добавьте сюда финансовый кризис 1994 года и российский дефолт 1998 года. Вспомните, с каким настроением мы тогда жили…
Между тем в первые 10–15 лет существования завода, при плановой экономике СССР и работе каждого советского автозавода в своем сегменте рынка, не было особой нужды в ином двигателе, кроме V8 КАМАЗ-740 объемом 10,8 л, мощностью 210 л. с. и крутящим моментом 670 Нм. Грузоподъемность КАМАЗов первого поколения была 10–12 тонн, более легкие грузовики выпускал ЗИЛ, более тяжелые — МАЗ и КрАЗ. У каждого завода была «своя грядка». Однако в Ярославле кроме ЯМЗ-740 разрабатывали полноценную гамму V-образных двигателей: V6 ЯМЗ-642 объемом 8,1 л и флагманский V10 ЯМЗ-741 объемом 13,6 л. Кстати, по такой же схеме — изменения числа цилиндров при одном диаметре и часто при сохранении хода поршня — работает Scania.
Но в те времена для КАМАЗа важнее были массовый выпуск новых дизелей и существенное повышение их качества. Ведь даже переход на моторы с турбонаддувом стоил автозаводу больших усилий. Поэтому характеристики, что имели дизели той поры, сегодня кажутся смешными. В результате в XXI век Камский автозавод вошел, по большому счету, с тремя версиями «восьмерок». Первая — атмосферная, объемом 10,8 л. Вторая — наддувное семейство КАМАЗ-740.3 — у него как раз были те заветные 260 л. с., как на V10 ЯМЗ-741. Третий мотор, КАМАЗ-740.35, — тоже с турбонаддувом, но с увеличенным ходом поршня со 120 до 130 мм, объемом 11,8 л. Именно длинноходное семейство «восьмерок» позволило выйти на приемлемый уровень мощности для 12‑литрового дизеля в 400–420 л. с. и момент 1700–1850 Нм. Такие характеристики долгое время оставались оптимальными и для европейских грузовиков грузоподъемностью 20 тонн. И этот практически двукратный рост мощности камазовских V8 — в чистом виде заслуга челнинских инженеров!
ПОЛЕЗНО ЗНАТЬ
Можно, конечно, лить горючие слезы по безвременному уходу с российского рынка двигателя Mercedes-Benz OM457. Спору нет, хороший мотор. Однако Камскому автозаводу возвращаться к этой модели уже нет смысла, тем более в нынешних условиях. Выгоднее и правильнее расширять производство своей рядной «шестерки» КАМАЗ-910. Но нашим сервисным центрам и крупным перевозчикам с парком КАМАЗ-5490 будет полезно знать, что Mercedes-Benz OM457 изготавливают еще и в Китае, на заводе Foton Daimler Automotive. Кроме того, OM457 распространен в Турции: на автозаводе Mercedes-Benz Turk в Аксарае выпускают Mercedes Axor. А еще в Индии с 2012 года работает совместное предприятие Daimler India Commercial Vehicles, производящее тяжелые грузовики Bharat Benz, конструктивно близкие Mercedes-Benz Actros и Axor. То есть без запчастей к мотору ОМ457 наши перевозчики не останутся.
Масса деталей двигателя КАМАЗ. Камаз масса двигателя
Выключатель массы, зачем нужен,советы по выбору,установка камазовского на мерседес.
Моторы от которых сносит крышу! ДВС и реактивный двигатель на Камазе, разгон до 100
03585 КАМАЗ 06520
КАМАЗ 53605 Автокран КС 45726 4
Почему выходит из стоя один из акб Камаза.
- Бумажные КАМАЗ мастер
- Передвижная автомастерская на базе КАМАЗ
- Как рисуется КАМАЗы
- Требования безопасности при работе с кабиной КАМАЗа
- Вал карданный среднего моста КАМАЗ 5320
- Сколько кубов в КАМАЗе самосвала
- Раскрасить машину КАМАЗ
- КАМАЗ 257 б1
- Вращение коленвала КАМАЗ
- Крепление баллонов на КАМАЗе
- КАМАЗ 4310 1990 года
- Клапан КАМАЗ колхозник
- Видео про КАМАЗы по бездорожью
- Фиксатор КПП КАМАЗ
- Чудеса на КАМАЗе
Масса двигателя КАМАЗ 6520 | КАМАЗ
КАМАЗ 6520 люкс. Коротко о нём.
Кнопка массы на автомобиль камаз
03585 КАМАЗ 06520
Почему выходит из стоя один из акб Камаза.
Выключатель массы, зачем нужен,советы по выбору,установка камазовского на мерседес.
Частые проблемы клапанной головки на двигателе камаз
Самосвал КАМАЗ 6520 2101043— ЛЮКС
Как сделать мост (чулок) камаза вечным
Тест на прочность: IP домофон BEWARD vs КАМАЗ 6520
- Видео как учатся ездить на КАМАЗе
- Ось балансира КАМАЗ 6520 размеры
- Радиатор для КАМАЗ 65201
- КАМАЗы с прицепом возят силос
- Автокран 50т на базе КАМАЗ
- Код на грузовой КАМАЗ
- Ремни для двигателя КАМАЗ
- КАМАЗ батыр лесовоз с манипулятором
- Спидометр для КАМАЗа 65115
- КАМАЗ бортовой 2000 год
- Тоннаж манипулятора КАМАЗ
- Покрышки КАМАЗ батыр
- КПП КАМАЗ зф 16 181
- Тормозная система КАМАЗ 2011
- Разгрузочный воздушный клапан КАМАЗ
Масса двигателя автомобиля КАМАЗ | КАМАЗ
Выключатель массы, зачем нужен,советы по выбору,установка камазовского на мерседес.
Установка выключателя массы на автомобиль
Плохо крутит стартер, ищем массу.
Звук двигателя ЯМЗ-238 (Камаз-5410)
ДВИГАТЕЛИ, МАССА, КОЛЕСА [ГАЙД CROSSOUT]
Почему выходит из стоя один из акб Камаза.
Звук двигателя ЯМЗ-236 (Маз-5433)
КАМАЗ 6520 люкс. Коротко о нём.
Сахар в масле авто
- Вид кабины КАМАЗа изнутри
- Диаметр пальца штанги КАМАЗ
- КАМАЗ трехмостовый армейский
- Тфк КАМАЗ это
- Сцепление на КАМАЗе берет в самом верху
- Производственная стратегия КАМАЗ
- Подключение реле дворников КАМАЗ
- Настройка клапанов на КАМАЗ 5511
- Аккумулятор для КАМАЗ 6520
- Прицеп КАМАЗ 53212 зерновоз
- Марка форсунок КАМАЗа
- Схема стояночного тормоза КАМАЗ 65115
- Емкость из шины КАМАЗа
- Рем к т двигателя КАМАЗ
- Делитель управления в сборе КАМАЗ 5320
Масса деталей двигателя КАМАЗ | КАМАЗ
ДВИГАТЕЛИ, МАССА, КОЛЕСА [ГАЙД CROSSOUT]
Выбираем выключатель массы для своего авто (с вскрытием)
УРАЛ-5557 (аналог КАМАЗ-65111) — полноприводный самосвал 10 т.
Утилизация Камаза №6 — Разбираем двигатель и КПП
Кабреолет из камаза
Самосвал Камаз 55111 подъем кузова
Двигатель Renault для TRUCK Premium 1996-2004;TRUCK Kerax 1997 после
Ремонт деталей двигателя грузовых автомобилей. Ремонт шатунов
Двигатель 30 000 КГ. Процесс запуска
Уменьшение массы шатуна
- Затяжка болтов головки блока цилиндров КАМАЗ видео
- Сборка двигатель КАМАЗ евро 2
- Верхнее компрессионное кольцо КАМАЗ
- Сход развал КАМАЗ 4310
- Ремонт бескамерной шины на КАМАЗе
- Снятие вискомуфты КАМАЗ
- КАМАЗ мастер в действии
- Требуются КАМАЗы на перевозку зерна
- Раздатка КАМАЗ 4326
- КАМАЗ 6520 вес автомобиля
- Как разобрать сцепление на КАМАЗе
- Цапфа КАМАЗ 65115 устройство
- Турбокомпрессор КАМАЗ на ваз
- КАМАЗы элекон видео
- German truck simulator видео КАМАЗ
Где находится масса на КАМАЗе
Кнопка массы на автомобиль камаз
Дальнобой. Заводим КамАЗ после 6 месяцев простоя. Ремонт реле. Плохая масса
Установка выключателя массы на автомобиль
Выключатель массы, зачем нужен,советы по выбору,установка камазовского на мерседес.
Почему выходит из стоя один из акб Камаза.
КамаЗ работа генератора.
МАССА НА ГАЗЕЛЬ
3. Система зарядки — 2
Как снять стартер на автомобиле Камаз (Теория)
- Полнопоточный масляный фильтр КАМАЗ 740
- Сколько масла в гур КАМАЗ 5320
- Омоновский КАМАЗ видео
- КАМАЗ 55111с новый
- Греется масло в гидросистеме КАМАЗ
- Мастерские по ремонту автомобилей КАМАЗ
- Карман двери КАМАЗ размеры
- Краны печки КАМАЗ
- Цилиндр сцепления КАМАЗ что это такое
- КАМАЗ 65116 с манипулятором
- Демонтаж коробки передач КАМАЗ
- Регулировка ручного на КАМАЗ
- КАМАЗ 4310 лесовоз с двигателем ямз 238
- Дрова КАМАЗ сколько кубов
- Снаб центр КАМАЗ
Масса двигателя КАМАЗ евро 3
Камаз 43118 , новый, 2012 г. в Челнах
Кнопка массы на автомобиль камаз
Выключатель массы, зачем нужен,советы по выбору,установка камазовского на мерседес.



































